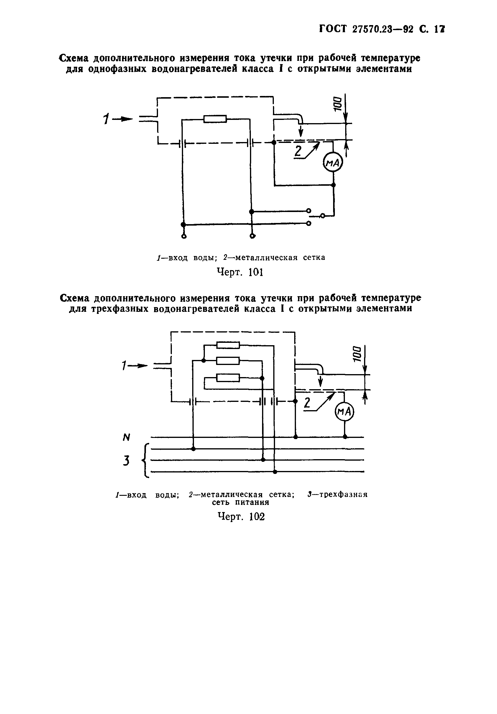
ГОСТ 27570.23-92 Безопасность бытовых и аналогичных электрических приборов. Дополнительные требования к проточным водонагревателям и методы испытаний
ГОСТ
Скачать ГОСТ в PDF или DOC бесплатно
Основная информация
Обозначение:
ГОСТ 27570.23-92
Статус:
Утратил силу в РФ
Тип:
ГОСТ
Название русское:
Безопасность бытовых и аналогичных электрических приборов. Дополнительные требования к проточным водонагревателям и методы испытаний
Название английское:
Safety of household and similar electrical appliances. Particular requirements for instantaneous water heaters and test methods
Даты и сроки
Дата издания:
02-25-93
Дата введения в действие:
06-30-93
Дата завершения срока действия:
01-01-01
Связи и замены
Заменяющий:
-
Взамен:
ГОСТ 27570.23-90
Изменения и переиздания
Список изменений:
№0 от (рег. ) «Поправка к изменению»
Описание стандарта
ГОСТ 27570.23-92 Безопасность бытовых и аналогичных электрических приборов. Дополнительные требования к проточным водонагревателям и методы испытаний
Страницы стандарта





















