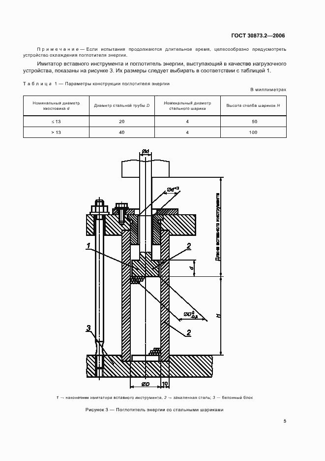
ГОСТ 30873.2-2006 Ручные машины. Измерения вибрации на рукоятке. Часть 2. Молотки рубильные и клепальные
ГОСТ
Скачать ГОСТ в PDF или DOC бесплатно
Основная информация
Обозначение:
ГОСТ 30873.2-2006
Статус:
Утратил силу в РФ
Тип:
ГОСТ
Название русское:
Ручные машины. Измерения вибрации на рукоятке. Часть 2. Молотки рубильные и клепальные
Название английское:
Hand-held portable power tools. Measurement of vibrations at the handlе. Part 2. Chipping hammers and riveting hammers
Даты и сроки
Дата регистрации:
06-24-06
Дата издания:
01-21-10
Дата введения в действие:
07-01-08
Дата завершения срока действия:
09-01-14
Применение и описание
Область и условия применения:
Настоящий стандарт относится к стандартам безопасности типа С (испытательный код по вибрации) согласно классификации ГОСТ 12.1.012 и устанавливает лабораторный метод измерения вибрации на рукоятках клепальных и рубильных молотков в целях заявления и подтверждения вибрационной характеристики ручной машины. Общие требования к методу испытаний ручных машин в целях заявления и подтверждения вибрационной характеристики приведены в ГОСТ 16519. Настоящий стандарт распространяется на ручные машины с электрическим, пневматическим или гидравлическим приводом, а также с приводом от двигателя внутреннего сгорания
Связи и замены
Заменяющий:
-
Взамен:
ГОСТ 30873.2-2002
Изменения и переиздания
Список изменений:
№0 от (рег. ) «Дата введения перенесена» №0 от (рег. ) «Поправка к изменению»
Описание стандарта
ГОСТ 30873.2-2006 Ручные машины. Измерения вибрации на рукоятке. Часть 2. Молотки рубильные и клепальные
Страницы стандарта
















Приложение №2: Поправка к ГОСТ 30873.2-2006 Обозначение: Поправка к ГОСТ 30873.2-2006 Дата введения в действие: 01.11.2008
