ГОСТ 27483-87 Испытания на пожароопасность. Методы испытаний. Испытания нагретой проволокой
ГОСТ
Скачать ГОСТ в PDF или DOC бесплатно
Основная информация
Обозначение:
ГОСТ 27483-87
Статус:
Действует
Тип:
ГОСТ
Название русское:
Испытания на пожароопасность. Методы испытаний. Испытания нагретой проволокой
Название английское:
Fire hazard testing. Test methods. Glow-wire test and guidance
Даты и сроки
Дата издания:
01-29-88
Дата введения в действие:
01-01-89
Дата завершения срока действия:
-
Применение и описание
Область и условия применения:
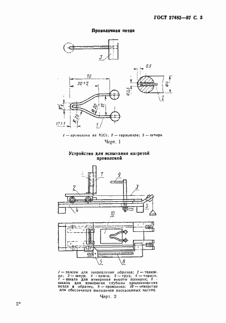
Настоящий стандарт устанавливает один из методов испытаний электротехнических изделий и их компонентов на пожароопасность
Связи и замены
Заменяющий:
-
Описание стандарта
ГОСТ 27483-87 Испытания на пожароопасность. Методы испытаний. Испытания нагретой проволокой
Страницы стандарта









