ГОСТ 30402-96 Материалы строительные. Метод испытания на воспламеняемость
ГОСТ
Скачать ГОСТ в PDF или DOC бесплатно
Основная информация
Обозначение:
ГОСТ 30402-96
Статус:
Действует
Тип:
ГОСТ
Название русское:
Материалы строительные. Метод испытания на воспламеняемость
Название английское:
Building materials. Ignitability test method
Даты и сроки
Дата регистрации:
05-15-96
Дата издания:
11-29-96
Дата введения в действие:
07-01-96
Дата завершения срока действия:
-
Применение и описание
Область и условия применения:
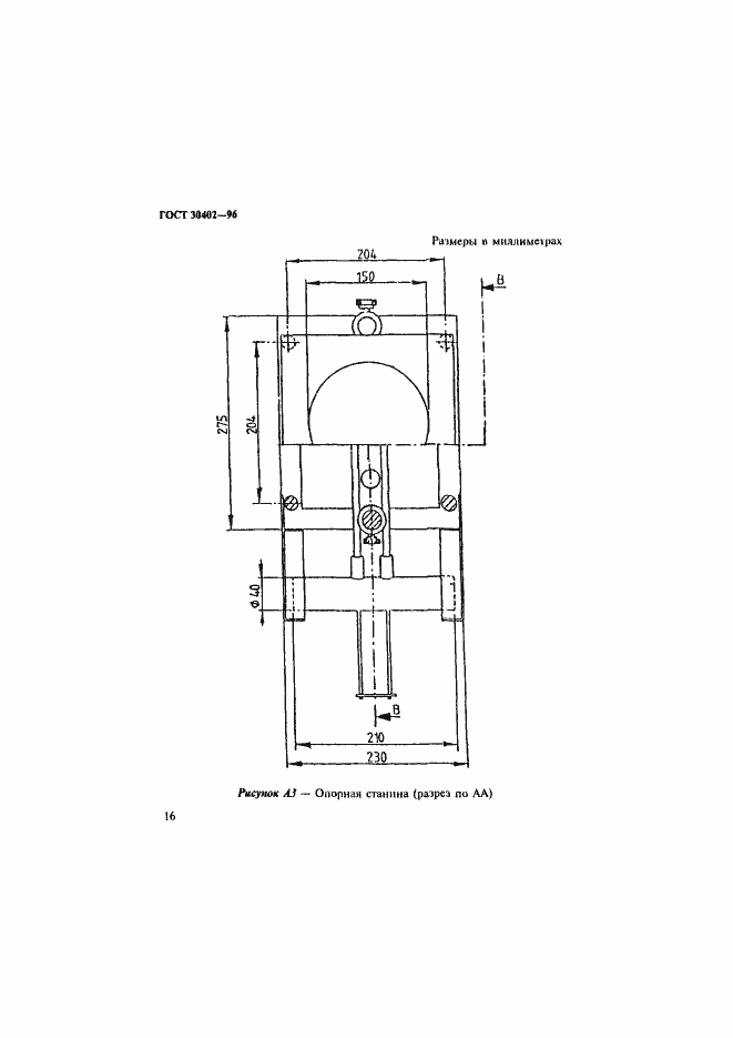
Настоящий стандарт устанавливает метод испытания строительных материалов на воспламеняемость и классификацию их по группам воспламеняемости
Связи и замены
Заменяющий:
-
Описание стандарта
ГОСТ 30402-96 Материалы строительные. Метод испытания на воспламеняемость
Страницы стандарта
































