ГОСТ 7499-71 Колонка пожарная. Технические условия
ГОСТ
Скачать ГОСТ в PDF или DOC бесплатно
Основная информация
Обозначение:
ГОСТ 7499-71
Статус:
Утратил силу в РФ
Тип:
ГОСТ
Название русское:
Колонка пожарная. Технические условия
Название английское:
Fire standpipe
Даты и сроки
Дата издания:
03-01-86
Дата введения в действие:
01-01-72
Дата завершения срока действия:
05-01-09
Применение и описание
Область и условия применения:
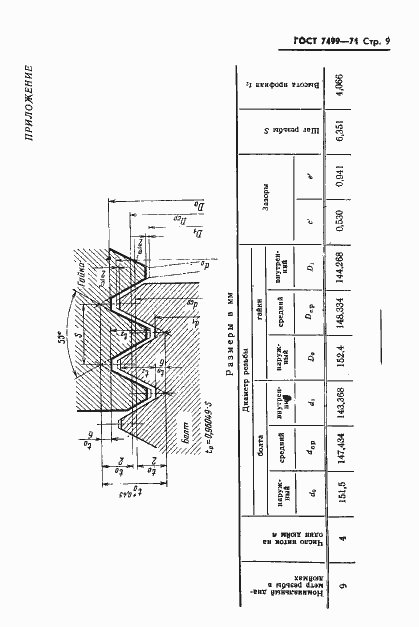
Настоящий стандарт распространяется на пожарную колонку, предназначенную для открывания (закрывания) подземных гидрантов и присоединения пожарных рукавов с целью отбора воды из водопроводных сетей на пожарные нужды
Связи и замены
Заменяющий:
-
Взамен:
ГОСТ 7499-55
Изменения и переиздания
Список изменений:
№0 от (рег. ) «Поправка к изменению» №1 от (рег. ) «Срок действия продлен» №2 от (рег. ) «Срок действия продлен»
Описание стандарта
ГОСТ 7499-71 Колонка пожарная. Технические условия
Страницы стандарта










