ГОСТ 33603-2015 Пневматические тормозные соединения между буксирующими и буксируемыми автомобильными транспортными средствами. Технические требования и методы испытаний
ГОСТ
Скачать ГОСТ в PDF или DOC бесплатно
Основная информация
Обозначение:
ГОСТ 33603-2015
Статус:
Действует
Тип:
ГОСТ
Название русское:
Пневматические тормозные соединения между буксирующими и буксируемыми автомобильными транспортными средствами. Технические требования и методы испытаний
Название английское:
Air brake connections between towing and towed road vehicles. Technical requirements and test methods
Даты и сроки
Дата регистрации:
11-12-15
Дата издания:
07-15-19
Дата введения в действие:
04-01-17
Дата завершения срока действия:
-
Применение и описание
Область и условия применения:
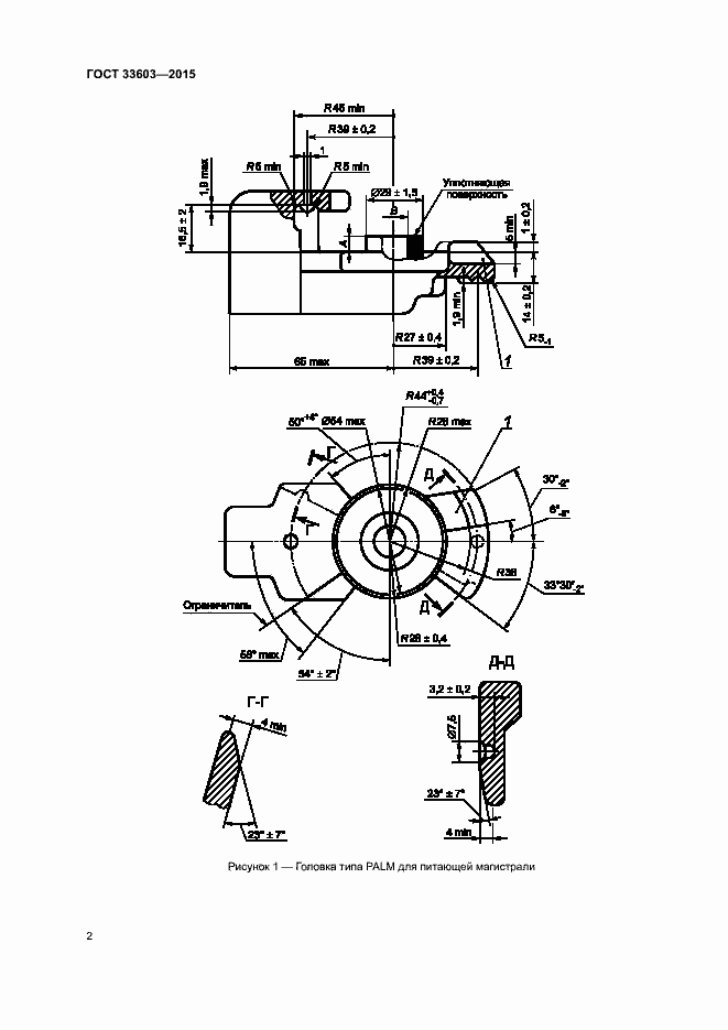
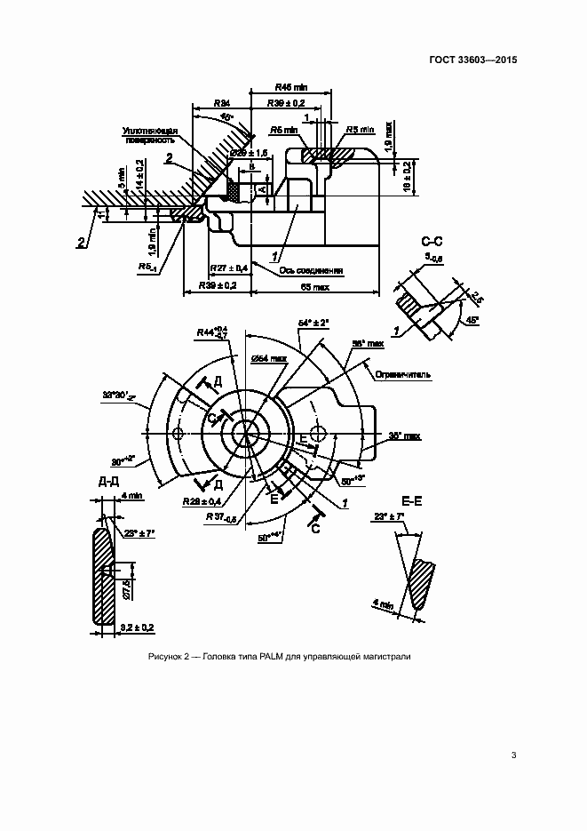
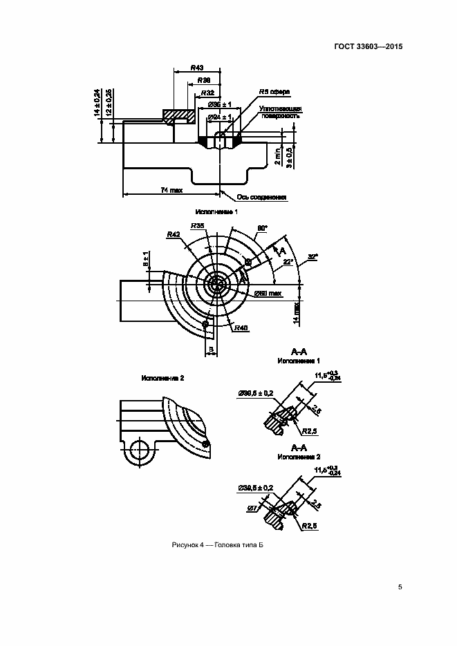
Настоящий стандарт распространяется на соединительные головки (далее - головки), предназначенные для соединения однопроводных и двухпроводных приводов тормозных систем автомобилей и тракторов (далее - тягачей) с приводами тормозных систем прицепов, полуприцепов и прицепных сельскохозяйственных машин (далее - прицепов), а также для соединения тормозных систем звеньев автопоездов и тракторных поездов, и устанавливает типы головок, основные присоединительные размеры, необходимые для обеспечения их соединения, технические требования и методы испытаний
Связи и замены
Заменяющий:
-
Описание стандарта
ГОСТ 33603-2015 Пневматические тормозные соединения между буксирующими и буксируемыми автомобильными транспортными средствами. Технические требования и методы испытаний
Страницы стандарта










