ГОСТ Р 53254-2009 Техника пожарная. Лестницы пожарные наружные стационарные. Ограждения кровли. Общие технические требования. Методы испытаний
ГОСТ Р
Скачать ГОСТ в PDF или DOC бесплатно
Основная информация
Обозначение:
ГОСТ Р 53254-2009
Статус:
Действует
Тип:
ГОСТ Р
Название русское:
Техника пожарная. Лестницы пожарные наружные стационарные. Ограждения кровли. Общие технические требования. Методы испытаний
Название английское:
Fire equipment. Ed fire ladders to be installed outside buildings. Buildings roof railings. General technical requirements. Test methods
Даты и сроки
Дата издания:
11-25-19
Дата введения в действие:
05-01-09
Дата завершения срока действия:
-
Применение и описание
Область и условия применения:
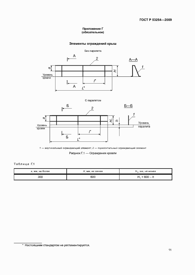
Настоящий стандарт распространяется на металлические пожарные маршевые и вертикальные лестницы (в том числе - эвакуационные и на аварийных выходах), площадки и ограждения к ним, устанавливаемые стационарно снаружи жилых, промышленных, общественных зданий и сооружений, которые используются пожарными подразделениями для эвакуации людей, подъема на кровли и чердаки личного состава и пожарно-технического вооружения, а также на ограждения кровли зданий для обеспечения безопасности проводимых работ. Настоящий стандарт устанавливает типы, основные параметры и размеры, общие технические требования, методы испытаний, правила и порядок оценки качества лестниц и ограждений кровли. Требования настоящего стандарта применяются на стадии проектирования, приемки объекта в эксплуатацию и при проведении периодических испытаний наружных пожарных лестниц и ограждений кровли
Связи и замены
Заменяющий:
-
Описание стандарта
ГОСТ Р 53254-2009 Техника пожарная. Лестницы пожарные наружные стационарные. Ограждения кровли. Общие технические требования. Методы испытаний
Страницы стандарта


















