ГОСТ Р 51114-97 Установки пенного пожаротушения автоматические. Дозаторы. Общие технические требования. Методы испытаний
ГОСТ Р
Скачать ГОСТ в PDF или DOC бесплатно
Основная информация
Обозначение:
ГОСТ Р 51114-97
Статус:
Действует
Тип:
ГОСТ Р
Название русское:
Установки пенного пожаротушения автоматические. Дозаторы. Общие технические требования. Методы испытаний
Название английское:
Automatic water and foam fire fighting systems. Feeder. General technical requirements. Test methods
Даты и сроки
Дата издания:
02-03-98
Дата введения в действие:
01-01-99
Дата завершения срока действия:
-
Применение и описание
Область и условия применения:
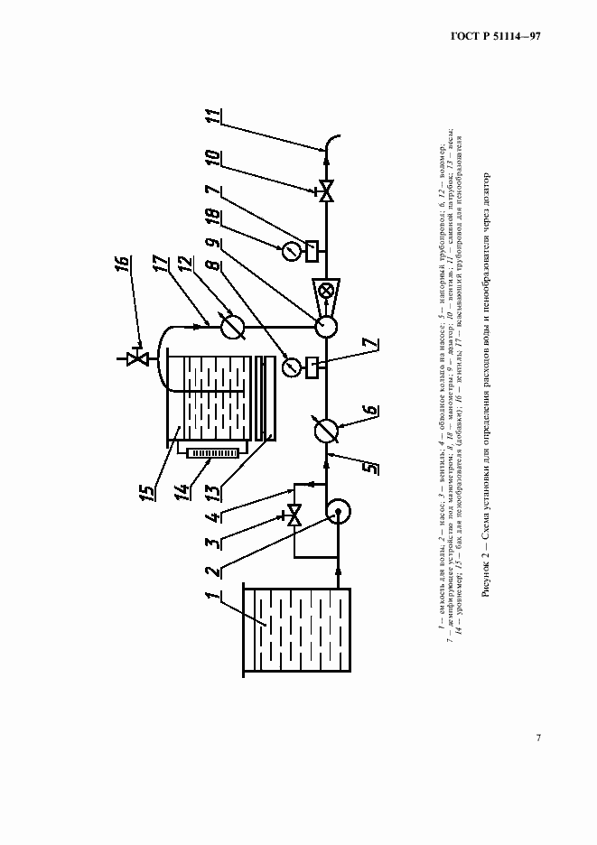
Настоящий стандарт распространяется на вновь разрабатываемые и выпускаемые дозаторы эжекторного типа, предназначенные для дозирования (ввода) пенообразователя (добавок) с плотностью от 1,0 до 1,2 кг/куб.м и кинематической вязкостью от 40 до 200 кв.мм/с в поток воды и устанавливаемые на обводной линии водяного насоса в дренчерных установках пенного пожаротушения. Настоящий стандарт не распространяется на автоматические дозаторы
Связи и замены
Заменяющий:
-
Описание стандарта
ГОСТ Р 51114-97 Установки пенного пожаротушения автоматические. Дозаторы. Общие технические требования. Методы испытаний
Страницы стандарта














