ГОСТ 12.1.011-78 Система стандартов безопасности труда. Смеси взрывоопасные. Классификация и методы испытаний
ГОСТ
Скачать ГОСТ в PDF или DOC бесплатно
Основная информация
Обозначение:
ГОСТ 12.1.011-78
Статус:
Утратил силу в РФ
Тип:
ГОСТ
Название русское:
Система стандартов безопасности труда. Смеси взрывоопасные. Классификация и методы испытаний
Название английское:
Occupational safety standards system. Explosive mixtures. Classification
Даты и сроки
Дата издания:
05-01-91
Дата введения в действие:
06-30-79
Дата завершения срока действия:
01-01-01
Применение и описание
Область и условия применения:
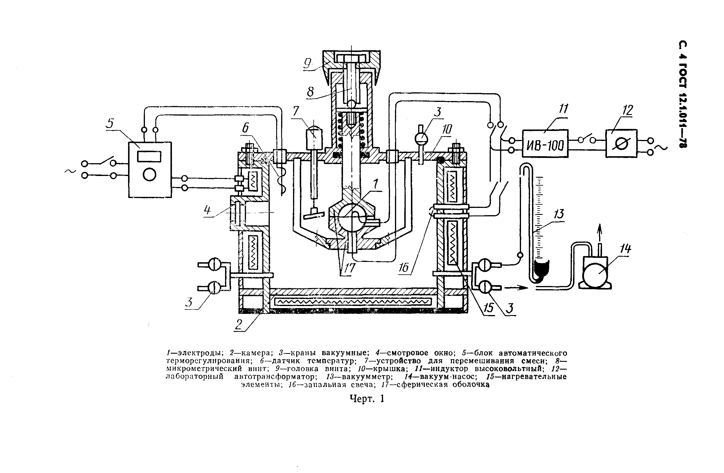
Настоящий стандарт распространяется на взрывоопасные смеси горючих газов и паров с воздухом, образующиеся в процессе производства во взрывоопасных средах, способные взрываться от постороннего источника поджигания, в которых применяется взрывозащищенное электрооборудование. Стандарт устанавливает классификацию взрывоопасных смесей по категориям и группам и методы определения параметров взрывоопасности, используемых при установлении классификации смесей
Связи и замены
Заменяющий:
-
Изменения и переиздания
Список изменений:
№0 от (рег. ) «Поправка к изменению» №1 от (рег. ) «Срок действия продлен» №2 от (рег. ) «Срок действия продлен»
Описание стандарта
ГОСТ 12.1.011-78 Система стандартов безопасности труда. Смеси взрывоопасные. Классификация и методы испытаний
Страницы стандарта






















