ГОСТы >
13.260 Защита от электрического удара. Работа с проводкой, находящейся под током >
ГОСТ Р 50940-96
ГОСТ Р 50940-96 Устройства электрошоковые. Общие технические условия
ГОСТ Р
Скачать ГОСТ в PDF или DOC бесплатно
Основная информация
Обозначение:
ГОСТ Р 50940-96
Статус:
Действует
Тип:
ГОСТ Р
Название русское:
Устройства электрошоковые. Общие технические условия
Название английское:
Electroshock batons. General specifications
Даты и сроки
Дата издания:
10-17-96
Дата введения в действие:
01-01-97
Дата завершения срока действия:
-
Применение и описание
Область и условия применения:
Настоящий стандарт распространяется на электрошоковые устройства отечественного производства, предназначенные для использования в целях самообороны, и защитные электрошоковые устройства отечественного производства, предназначенные для защиты (охраны) стационарных и подвижных объектов гражданского и ведомственного назначения от несанкционированного проникновения и воздействия
Связи и замены
Заменяющий:
-
Изменения и переиздания
Список изменений:
№1 от (рег. ) «Срок действия продлен» №2 от (рег. ) «Срок действия продлен» №3 от (рег. ) «Текстовое изменение; Изменены ссылочные НД»
Описание стандарта
ГОСТ Р 50940-96 Устройства электрошоковые. Общие технические условия
Страницы стандарта
































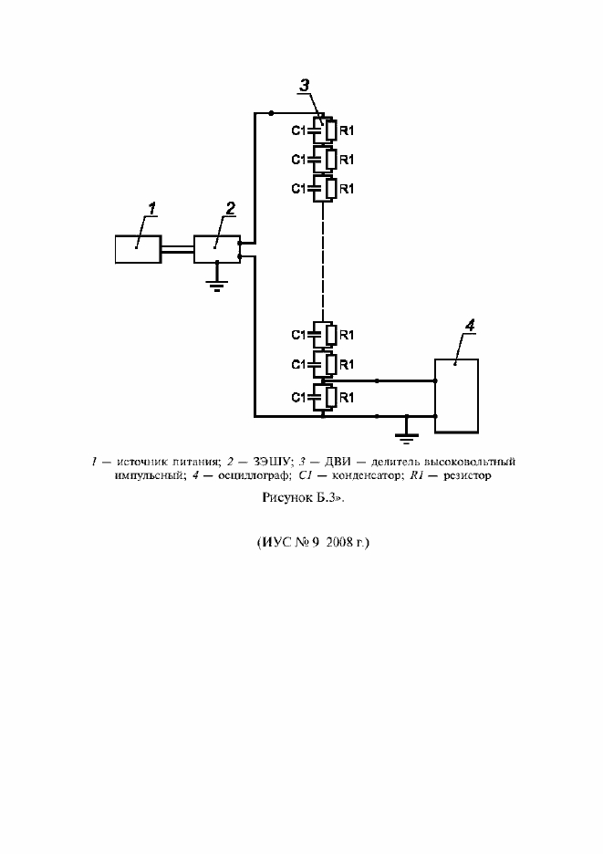
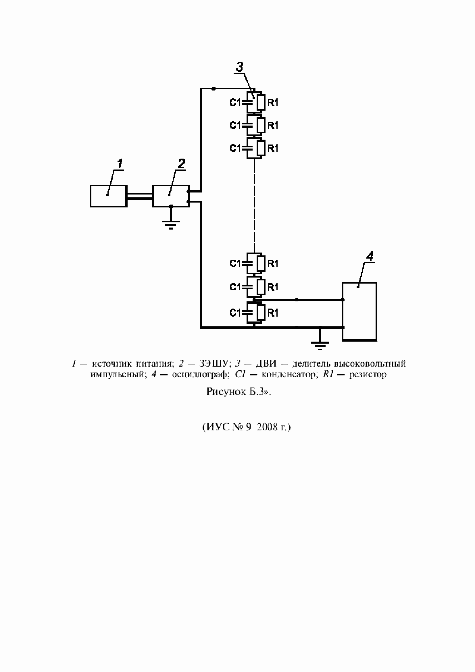
Приложение №3: Изменение №3 к ГОСТ Р 50940-96 Обозначение: Изменение №3 к ГОСТ Р 50940-96 Дата введения в действие: 01.09.2008

Приложение №3: Изменение №3 к ГОСТ Р 50940-96 Обозначение: Изменение №3 к ГОСТ Р 50940-96 Дата введения в действие: 01.09.2008

Приложение №3: Изменение №3 к ГОСТ Р 50940-96 Обозначение: Изменение №3 к ГОСТ Р 50940-96 Дата введения в действие: 01.09.2008

Приложение №3: Изменение №3 к ГОСТ Р 50940-96 Обозначение: Изменение №3 к ГОСТ Р 50940-96 Дата введения в действие: 01.09.2008

Приложение №3: Изменение №3 к ГОСТ Р 50940-96 Обозначение: Изменение №3 к ГОСТ Р 50940-96 Дата введения в действие: 01.09.2008

Приложение №3: Изменение №3 к ГОСТ Р 50940-96 Обозначение: Изменение №3 к ГОСТ Р 50940-96 Дата введения в действие: 01.09.2008
