ГОСТ Р 52503-2005 Жалюзи-роллеты. Методы испытаний на устойчивость к взлому и пулестойкость
ГОСТ Р
Скачать ГОСТ в PDF или DOC бесплатно
Основная информация
Обозначение:
ГОСТ Р 52503-2005
Статус:
Действует
Тип:
ГОСТ Р
Название русское:
Жалюзи-роллеты. Методы испытаний на устойчивость к взлому и пулестойкость
Название английское:
Venetian blinds-rollets. Methods of testing for resistance to burglary and bullet-proofing
Даты и сроки
Дата издания:
03-01-08
Дата введения в действие:
09-01-06
Дата завершения срока действия:
-
Применение и описание
Область и условия применения:
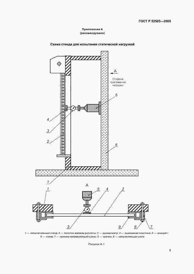
Настоящий стандарт распространяется на вновь разрабатываемые и модернизируемые защитные жалюзи-роллеты по ГОСТ Р 52502. Настоящий стандарт не распространяется на защитные жалюзи по ГОСТ Р 51222; конструкции: противопожарные; ограждений открытых территорий; предназначенные для объектов военного и (или) оборонного значения, а также для специальных промышленных производств
Связи и замены
Заменяющий:
-
Описание стандарта
ГОСТ Р 52503-2005 Жалюзи-роллеты. Методы испытаний на устойчивость к взлому и пулестойкость
Страницы стандарта






















