ГОСТ 12.4.163-85 Система стандартов безопасности труда. Материалы с полимерным покрытием для средств защиты рук. Метод определения суммарного теплового сопротивления
ГОСТ
Скачать ГОСТ в PDF или DOC бесплатно
Основная информация
Обозначение:
ГОСТ 12.4.163-85
Статус:
Действует
Тип:
ГОСТ
Название русское:
Система стандартов безопасности труда. Материалы с полимерным покрытием для средств защиты рук. Метод определения суммарного теплового сопротивления
Название английское:
Occupational safety standards system. Polymer coated materials for hand protective means. Method for determination of summary thermal resistance
Даты и сроки
Дата издания:
11-13-85
Дата введения в действие:
01-01-87
Дата завершения срока действия:
-
Применение и описание
Область и условия применения:
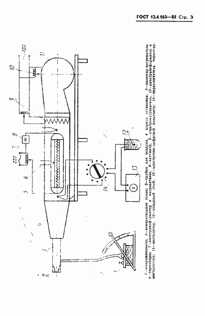
Настоящий стандарт распространяется на материалы с полимерным покрытием для средств защиты рук и устанавливает метод определения суммарного теплового сопротивления в интервале температур от 0 до 100 град. С. Метод применяется на стадии разработки и постановки продукции на производство
Связи и замены
Заменяющий:
-
Описание стандарта
ГОСТ 12.4.163-85 Система стандартов безопасности труда. Материалы с полимерным покрытием для средств защиты рук. Метод определения суммарного теплового сопротивления
Страницы стандарта







