ГОСТ 24870-81 Костюмы специальные летние для военнослужащих. Технические условия
ГОСТ
Скачать ГОСТ в PDF или DOC бесплатно
Основная информация
Обозначение:
ГОСТ 24870-81
Статус:
Действует
Тип:
ГОСТ
Название русское:
Костюмы специальные летние для военнослужащих. Технические условия
Название английское:
Industrial summer overalls for service men. Specifications
Даты и сроки
Дата издания:
03-01-90
Дата введения в действие:
01-01-83
Дата завершения срока действия:
-
Применение и описание
Область и условия применения:
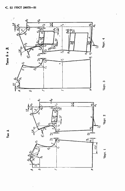
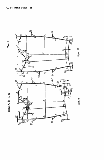
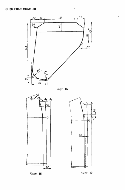
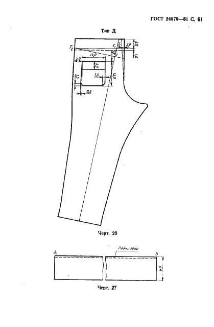
Настоящий стандарт распространяется на хлопчатобумажные костюмы - куртка и брюки, предназначенные в качестве спецодежды для военнослужащих Советской Армии, Военно-Морского Флота, МВД СССР и Комитета государственной безопасности
Связи и замены
Заменяющий:
-
Взамен в части:
ГОСТ 21250-75 в части костюмов типов А, Б, В
Изменения и переиздания
Список изменений:
№0 от (рег. ) «Срок действия продлен» №1 от (рег. ) «Срок действия продлен» №2 от (рег. ) «Срок действия продлен» №3 от (рег. ) «Срок действия продлен» №4 от (рег. ) «Срок действия продлен»
Описание стандарта
ГОСТ 24870-81 Костюмы специальные летние для военнослужащих. Технические условия
Страницы стандарта








































































