ГОСТ 24912-81 Костюмы специальные зимние для военнослужащих. Технические условия
ГОСТ
Скачать ГОСТ в PDF или DOC бесплатно
Основная информация
Обозначение:
ГОСТ 24912-81
Статус:
Действует
Тип:
ГОСТ
Название русское:
Костюмы специальные зимние для военнослужащих. Технические условия
Название английское:
Special army winter clothes. Specifications
Даты и сроки
Дата издания:
09-01-90
Дата введения в действие:
01-01-83
Дата завершения срока действия:
-
Применение и описание
Область и условия применения:
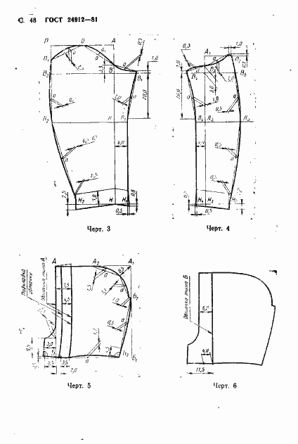
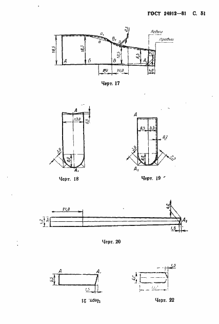
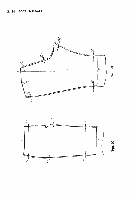
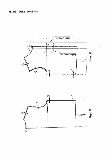
Настоящий стандарт распространяется на зимние костюмы, состоящие из куртки и брюк, предназначенные в качестве спецодежды для личного состава Военно-Морского Флота и Комитета государственной безопасности СССР
Связи и замены
Заменяющий:
-
Изменения и переиздания
Список изменений:
№0 от (рег. ) «Срок действия продлен» №1 от (рег. ) «Срок действия продлен» №2 от (рег. ) «Срок действия продлен»
Описание стандарта
ГОСТ 24912-81 Костюмы специальные зимние для военнослужащих. Технические условия
Страницы стандарта
































































