ГОСТ 24913-81 Костюм специальный утепленный для военнослужащих. Технические условия
ГОСТ
Скачать ГОСТ в PDF или DOC бесплатно
Основная информация
Обозначение:
ГОСТ 24913-81
Статус:
Действует
Тип:
ГОСТ
Название русское:
Костюм специальный утепленный для военнослужащих. Технические условия
Название английское:
Special army uniform with underlining. Specifications
Даты и сроки
Дата издания:
03-01-90
Дата введения в действие:
01-01-83
Дата завершения срока действия:
-
Применение и описание
Область и условия применения:
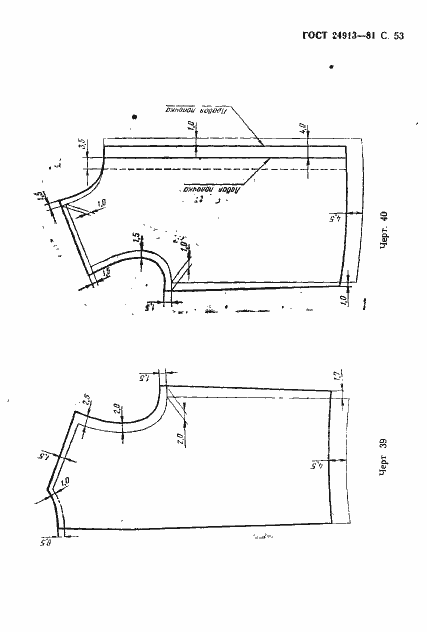
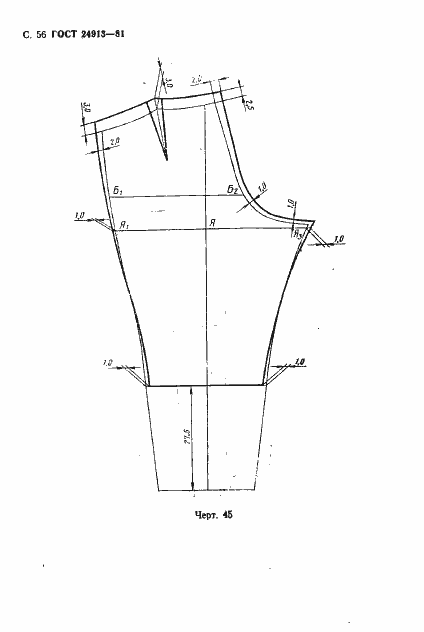
Настоящий стандарт распространяется на зимний костюм со съемным утеплителем - куртка, брюки и капюшон, предназначенный в качестве спецодежды для военнослужащих Советской Армии и Министерства внутренних дел СССР
Связи и замены
Заменяющий:
-
Изменения и переиздания
Список изменений:
№0 от (рег. ) «Срок действия продлен» №1 от (рег. ) «Срок действия продлен» №2 от (рег. ) «Срок действия продлен» №3 от (рег. ) «Срок действия продлен» №4 от (рег. ) «Срок действия продлен»
Описание стандарта
ГОСТ 24913-81 Костюм специальный утепленный для военнослужащих. Технические условия
Страницы стандарта
































































