ГОСТ 12.4.304-2016 Система стандартов безопасности труда. Одежда специальная. Методы испытания материала при воздействии брызг расплавленного металла
ГОСТ
Скачать ГОСТ в PDF или DOC бесплатно
Основная информация
Обозначение:
ГОСТ 12.4.304-2016
Статус:
Действует
Тип:
ГОСТ
Название русское:
Система стандартов безопасности труда. Одежда специальная. Методы испытания материала при воздействии брызг расплавленного металла
Название английское:
Occupational safety standards system. Protective clothing. Methods of testing the material on impact of splashes of molten metal
Даты и сроки
Дата регистрации:
03-29-16
Дата издания:
09-30-19
Дата введения в действие:
07-01-17
Дата завершения срока действия:
-
Применение и описание
Область и условия применения:
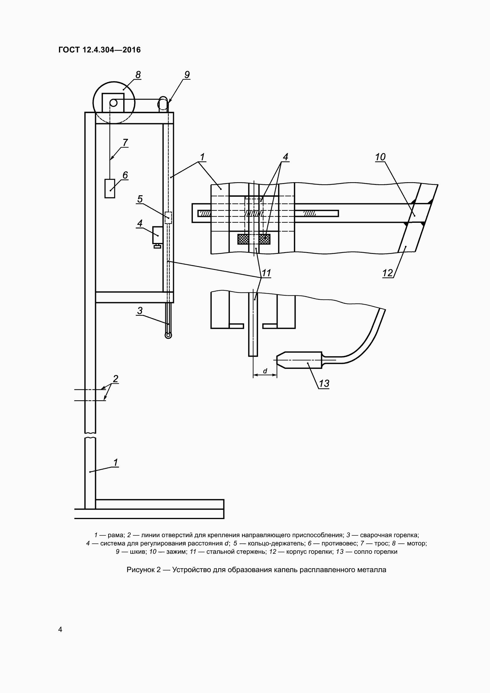
Настоящий стандарт устанавливает методы испытаний (метод А и метод Б) устойчивости материалов, используемых для изготовления специальной одежды, к брызгам жидкого металла, в том числе стали. Испытаниям подвергают любые мягкие материалы или пакеты материалов, предназначенные для изготовления специальной одежды для защиты работающих от брызг расплавленного металла. Результаты, получаемые данными методами, позволяют сравнивать характеристики различных материалов, испытанных при стандартных условиях
Связи и замены
Заменяющий:
-
Описание стандарта
ГОСТ 12.4.304-2016 Система стандартов безопасности труда. Одежда специальная. Методы испытания материала при воздействии брызг расплавленного металла
Страницы стандарта



















