ГОСТ Р 12.4.208-99 Система стандартов безопасности труда. Средства индивидуальной защиты органа слуха. Наушники. Общие технические требования. Методы испытаний
ГОСТ Р
Скачать ГОСТ в PDF или DOC бесплатно
Основная информация
Обозначение:
ГОСТ Р 12.4.208-99
Статус:
Заменен
Тип:
ГОСТ Р
Название русское:
Система стандартов безопасности труда. Средства индивидуальной защиты органа слуха. Наушники. Общие технические требования. Методы испытаний
Название английское:
Occupational safety standards system. Hearing protectors. Ear-muffs. General technical requirements. Methods of testing
Даты и сроки
Дата издания:
01-01-03
Дата введения в действие:
01-01-02
Дата завершения срока действия:
07-01-12
Применение и описание
Область и условия применения:
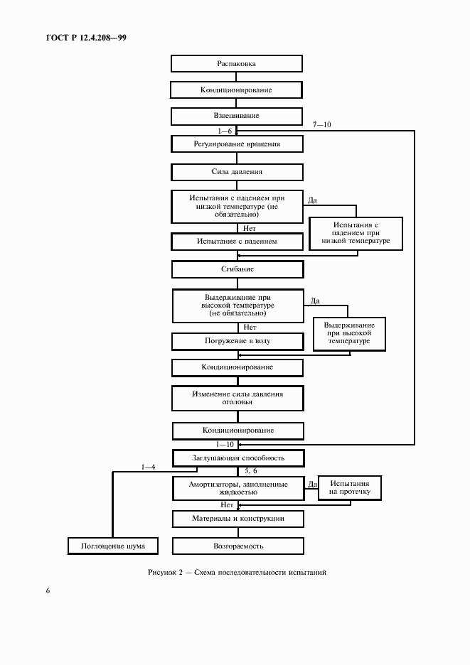
Настоящий стандарт распространяется на средства индивидуальной защиты органов слуха от шума - противошумные наушники и устанавливает общие технические требования и методы испытаний
Связи и замены
Заменяющий:
ГОСТ Р 12.4.255-2011
Описание стандарта
ГОСТ Р 12.4.208-99 Система стандартов безопасности труда. Средства индивидуальной защиты органа слуха. Наушники. Общие технические требования. Методы испытаний
Страницы стандарта















