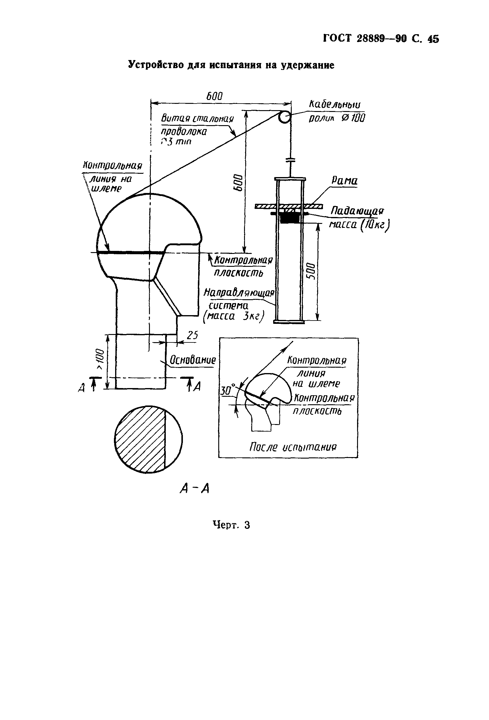
ГОСТ 28889-90 Шлемы защитные для водителей и пассажиров мотоциклов и мопедов. Единые требования для официального утверждения
ГОСТ
Скачать ГОСТ в PDF или DOC бесплатно
Основная информация
Обозначение:
ГОСТ 28889-90
Статус:
Утратил силу в РФ
Тип:
ГОСТ
Название русское:
Шлемы защитные для водителей и пассажиров мотоциклов и мопедов. Единые требования для официального утверждения
Название английское:
Protective helmets for drivers and passengers of motor cycles and mopeds. Uniform requirements for official approval
Даты и сроки
Дата издания:
04-26-91
Дата введения в действие:
06-30-91
Дата завершения срока действия:
01-01-02
Связи и замены
Заменяющий:
-
Изменения и переиздания
Список изменений:
№0 от (рег. ) «Поправка к изменению»
Описание стандарта
ГОСТ 28889-90 Шлемы защитные для водителей и пассажиров мотоциклов и мопедов. Единые требования для официального утверждения
Страницы стандарта
















































