ГОСТ 8.027-2001 Государственная система обеспечения единства измерений. Государственная поверочная схема для средств измерений постоянного электрического напряжения и электродвижущей силы
ГОСТ
Скачать ГОСТ в PDF или DOC бесплатно
Основная информация
Обозначение:
ГОСТ 8.027-2001
Статус:
Утратил силу в РФ
Тип:
ГОСТ
Название русское:
Государственная система обеспечения единства измерений. Государственная поверочная схема для средств измерений постоянного электрического напряжения и электродвижущей силы
Название английское:
State system for ensuring the uniformity of measurements. State verification schedule for measuring instruments of direct electrical vortage and electromotive force
Даты и сроки
Дата регистрации:
05-24-01
Дата издания:
10-09-01
Дата введения в действие:
07-01-02
Дата завершения срока действия:
11-01-22
Применение и описание
Область и условия применения:
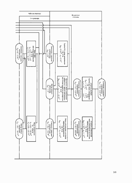
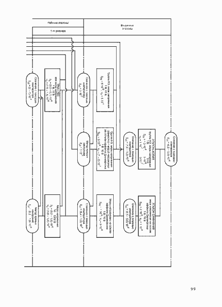
Настоящий стандарт распространяется на государственную поверочную схему для средств измерений постоянного электрического напряжения и электродвижущей силы в диапазоне до 1000 В и устанавливает порядок передачи размера единицы напряжения - вольта от государственного первичного эталона единицы напряжения с помощью вторичных и рабочих эталонов рабочим средствам измерений с указанием погрешностей и основных методов поверки
Связи и замены
Заменяющий:
-
Взамен:
ГОСТ 8.027-89
Изменения и переиздания
Список изменений:
№1 от (рег. ) «Срок действия продлен»
Описание стандарта
ГОСТ 8.027-2001 Государственная система обеспечения единства измерений. Государственная поверочная схема для средств измерений постоянного электрического напряжения и электродвижущей силы
Страницы стандарта












Приложение №1: Изменение №1 к ГОСТ 8.027-2001 Обозначение: Изменение №1 к ГОСТ 8.027-2001 Дата введения в действие: 01.01.2012

Приложение №1: Изменение №1 к ГОСТ 8.027-2001 Обозначение: Изменение №1 к ГОСТ 8.027-2001 Дата введения в действие: 01.01.2012

Приложение №1: Изменение №1 к ГОСТ 8.027-2001 Обозначение: Изменение №1 к ГОСТ 8.027-2001 Дата введения в действие: 01.01.2012
