ГОСТ Р 8.612-2011 Государственная система обеспечения единства измерений. Государственная поверочная схема для средств измерений поверхностной плотности покрытий в диапазоне от 0,0001 до 1,000 кг/м кв.
ГОСТ Р
Скачать ГОСТ в PDF или DOC бесплатно
Основная информация
Обозначение:
ГОСТ Р 8.612-2011
Статус:
Отменен
Тип:
ГОСТ Р
Название русское:
Государственная система обеспечения единства измерений. Государственная поверочная схема для средств измерений поверхностной плотности покрытий в диапазоне от 0,0001 до 1,000 кг/м кв.
Название английское:
State system for ensuring the uniformity of measurements. State verification schedule for means of measuring the surface density of coating in the range from 0,0001· to 1,000 kg/sq m
Даты и сроки
Дата издания:
01-16-14
Дата введения в действие:
01-01-13
Дата завершения срока действия:
01-01-23
Применение и описание
Область и условия применения:
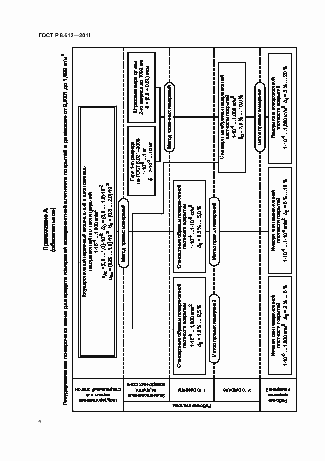
Настоящий стандарт распространяется на государственную поверочную схему для средств измерений поверхностной плотности металлических и неметаллических неорганических покрытий в диапазоне от 0,0001 до 1,000 кг/м кв. и устанавливает порядок передачи единицы поверхностной плотности покрытий - килограмма на квадратный метр (кг/м кв.) от государственного первичного специального эталона единицы поверхностной плотности покрытий с помощью рабочих эталонов рабочим средствам измерений с указанием погрешностей и основных методов поверки
Связи и замены
Заменяющий:
-
Взамен:
ГОСТ Р 8.612-2005
Описание стандарта
ГОСТ Р 8.612-2011 Государственная система обеспечения единства измерений. Государственная поверочная схема для средств измерений поверхностной плотности покрытий в диапазоне от 0,0001 до 1,000 кг/м кв.
Страницы стандарта







