ГОСТ 24246-96 Муфты втулочные. Параметры, конструкция и размеры
ГОСТ
Скачать ГОСТ в PDF или DOC бесплатно
Основная информация
Обозначение:
ГОСТ 24246-96
Статус:
Действует
Тип:
ГОСТ
Название русское:
Муфты втулочные. Параметры, конструкция и размеры
Название английское:
Box clutches. Parameters, design and dimensions
Даты и сроки
Дата регистрации:
04-12-96
Дата издания:
03-02-00
Дата введения в действие:
07-01-00
Дата завершения срока действия:
-
Применение и описание
Область и условия применения:
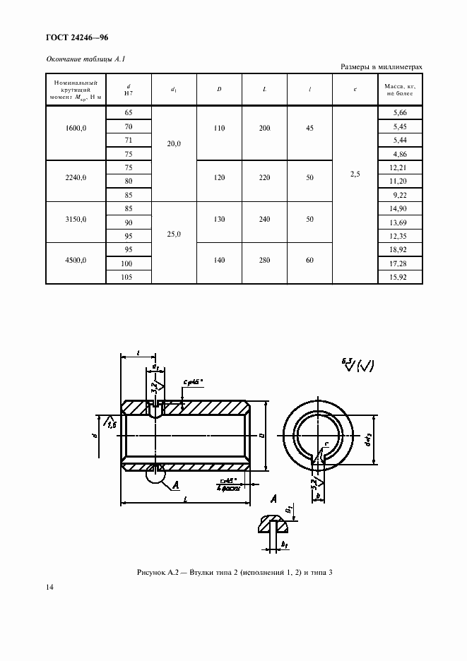
Настоящий стандарт распространяется на втулочные муфты общемашиностроительного применения, предназначенные для соединения соосных цилиндрических валов и передачи крутящего момента от 1 до 12500 Н.м без уменьшения динамических нагрузок при окружной скорости на наружном диаметре муфт до 70 м/с, климатических исполнений У и Т категорий 1-3, климатических исполнений УХЛ и О категории 4 по ГОСТ 15150
Связи и замены
Заменяющий:
-
Взамен:
ГОСТ 24246-80
Описание стандарта
ГОСТ 24246-96 Муфты втулочные. Параметры, конструкция и размеры
Страницы стандарта



















