ГОСТ 19306-98 Изложницы центробежные с резьбовым хвостовиком и центробежными замками. Конструкция и размеры
ГОСТ
Скачать ГОСТ в PDF или DOC бесплатно
Основная информация
Обозначение:
ГОСТ 19306-98
Статус:
Действует
Тип:
ГОСТ
Название русское:
Изложницы центробежные с резьбовым хвостовиком и центробежными замками. Конструкция и размеры
Название английское:
Centrifugal moulds with threaded shank and centrifugal locks. Construction and dimensions
Даты и сроки
Дата регистрации:
11-12-98
Дата издания:
10-06-99
Дата введения в действие:
01-01-00
Дата завершения срока действия:
-
Применение и описание
Область и условия применения:
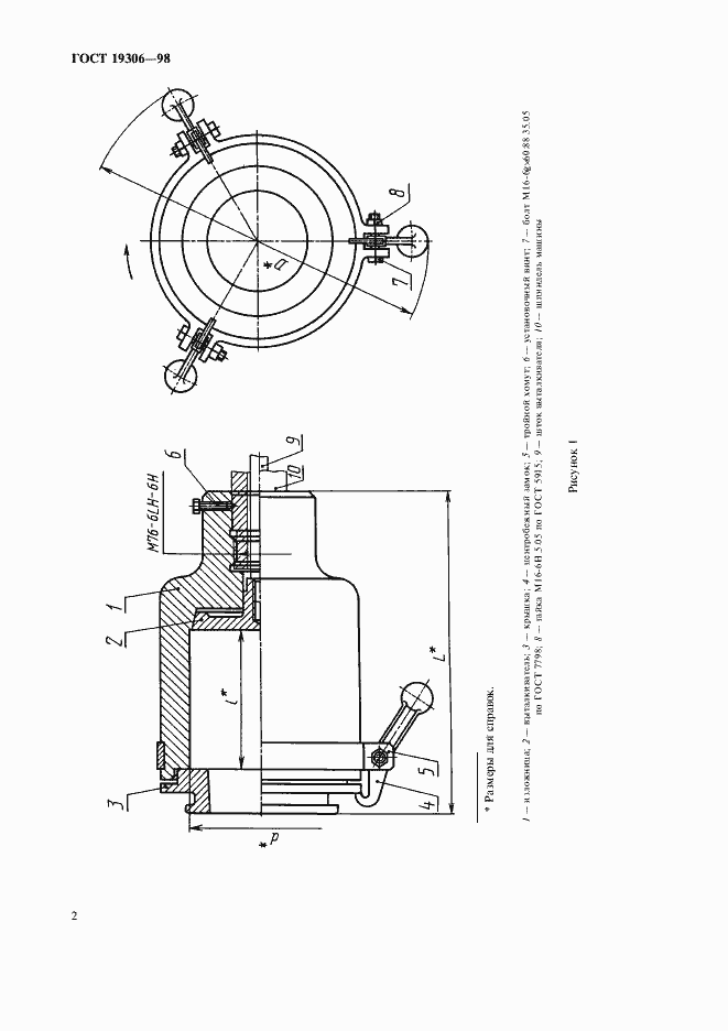
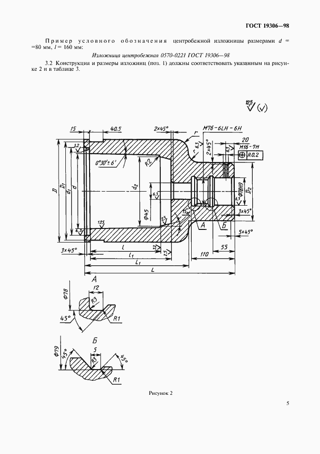
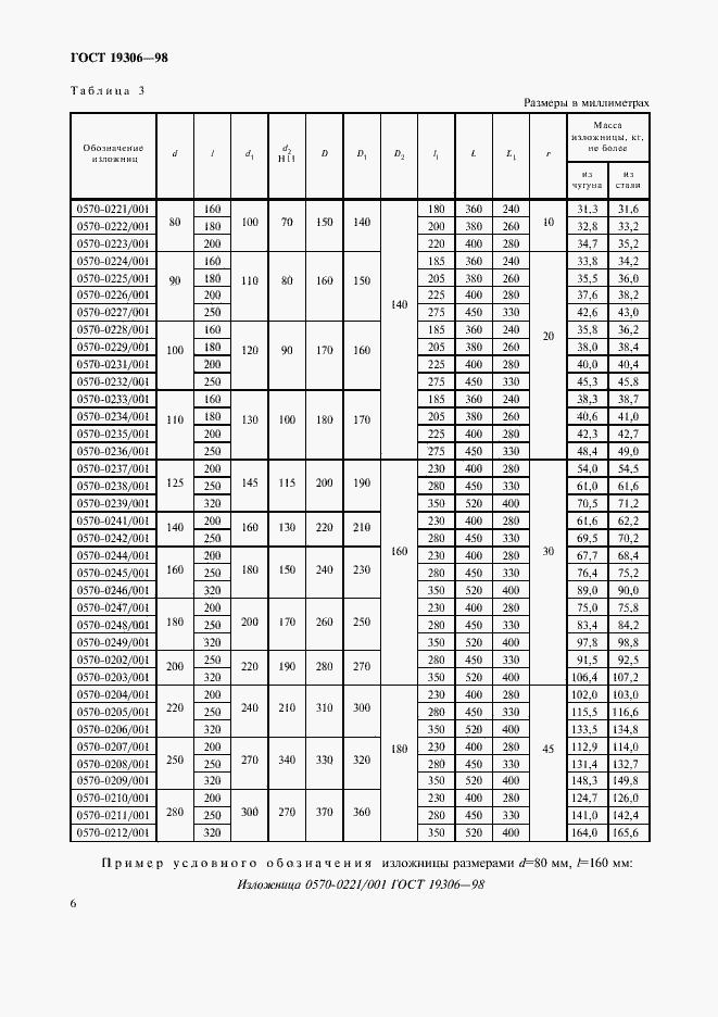
Настоящий стандарт распространяется на центробежные изложницы с резьбовым хвостовиком и центробежными замками для однопозиционных машин центробежного литья консольного типа с горизонтальной осью вращения, предназначенные для изготовления втулок из стали, чугуна и цветных сплавов
Связи и замены
Заменяющий:
-
Взамен:
ГОСТ 19306-73
Описание стандарта
ГОСТ 19306-98 Изложницы центробежные с резьбовым хвостовиком и центробежными замками. Конструкция и размеры
Страницы стандарта










