ГОСТ 19310-98 Выталкиватели для центробежных изложниц. Конструкция и размеры
ГОСТ
Скачать ГОСТ в PDF или DOC бесплатно
Основная информация
Обозначение:
ГОСТ 19310-98
Статус:
Действует
Тип:
ГОСТ
Название русское:
Выталкиватели для центробежных изложниц. Конструкция и размеры
Название английское:
Pushers for centrifugal moulds. Construction and dimensions
Даты и сроки
Дата регистрации:
11-12-98
Дата издания:
09-16-99
Дата введения в действие:
01-01-00
Дата завершения срока действия:
-
Применение и описание
Область и условия применения:
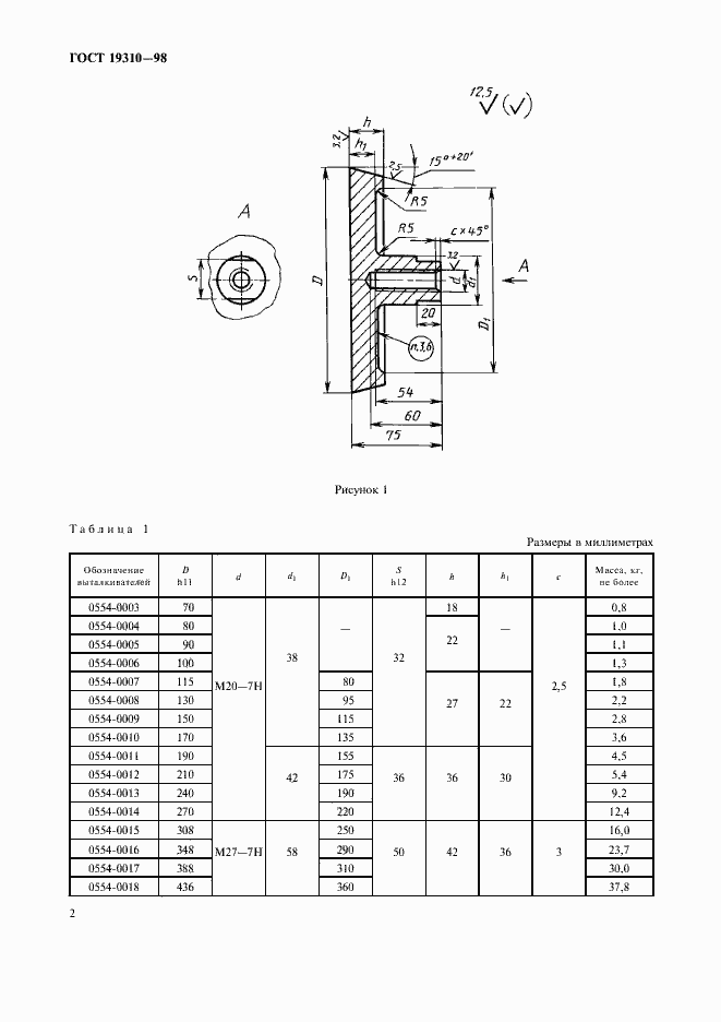
Настоящий стандарт распространяется на выталкиватели, применяемые в центробежных изложницах для выталкивания отливок. Стандарт пригоден для целей сертификации
Связи и замены
Заменяющий:
-
Взамен:
ГОСТ 19310-73
Описание стандарта
ГОСТ 19310-98 Выталкиватели для центробежных изложниц. Конструкция и размеры
Страницы стандарта






