ГОСТ 27713-88 Литейное оборудование. Машины для литья в кокиль. Присоединительные размеры крепления кокилей
ГОСТ
Скачать ГОСТ в PDF или DOC бесплатно
Основная информация
Обозначение:
ГОСТ 27713-88
Статус:
Действует
Тип:
ГОСТ
Название русское:
Литейное оборудование. Машины для литья в кокиль. Присоединительные размеры крепления кокилей
Название английское:
Foundry equipment. Machines for casting in chill moulds. Mounting dimensions for chill fixing
Даты и сроки
Дата издания:
08-09-88
Дата введения в действие:
06-30-89
Дата завершения срока действия:
-
Применение и описание
Область и условия применения:
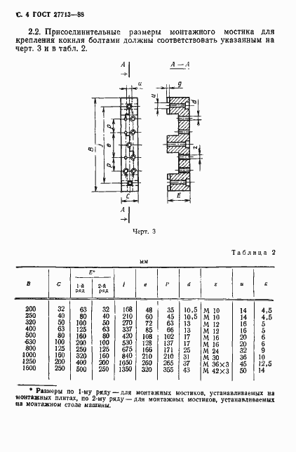
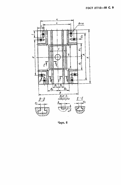
Настоящий стандарт распространяется на вновь проектируемые и модернизируемые машины для литья в кокиль с вертикальным, горизонтальным и комбинированным разъемом по ГОСТ 9451-84, предназначенные для серийного производства
Связи и замены
Заменяющий:
-
Описание стандарта
ГОСТ 27713-88 Литейное оборудование. Машины для литья в кокиль. Присоединительные размеры крепления кокилей
Страницы стандарта














