ГОСТ Р 9.317-2010 Единая система защиты от коррозии и старения. Покрытия металлические. Методы измерения пластичности
ГОСТ Р
Скачать ГОСТ в PDF или DOC бесплатно
Основная информация
Обозначение:
ГОСТ Р 9.317-2010
Статус:
Действует
Тип:
ГОСТ Р
Название русское:
Единая система защиты от коррозии и старения. Покрытия металлические. Методы измерения пластичности
Название английское:
Unified system of corrosion and ageing protection. Metallic coatings. Methods of measuriment of ductility
Даты и сроки
Дата издания:
12-19-11
Дата введения в действие:
01-01-12
Дата завершения срока действия:
-
Применение и описание
Область и условия применения:
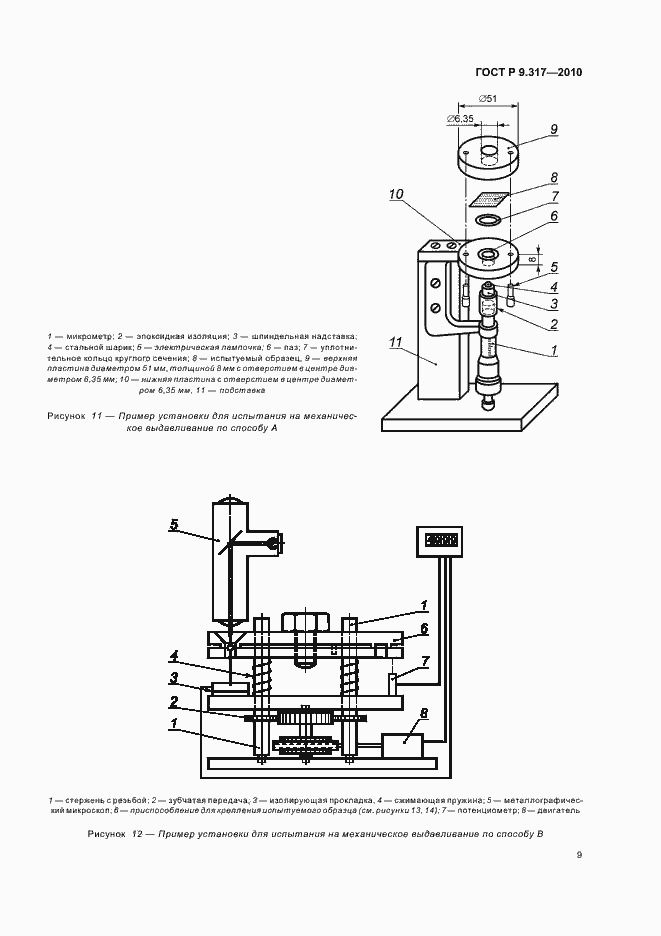
Настоящий стандарт распространяется на металлические покрытия толщиной до 200 мм, полученные гальваническим, автокаталитическим осаждением или другими способами, и устанавливает следующие методы измерения пластичности покрытий: - испытания на свободных покрытиях (отделенных от подложки); - испытания покрытий на подложках. Методы испытаний покрытий на подложках используют также для выявления охрупчивания подложки, которое может произойти после нанесения покрытия, например, водородного охрупчивания стали, покрытой цинком
Связи и замены
Заменяющий:
-
Описание стандарта
ГОСТ Р 9.317-2010 Единая система защиты от коррозии и старения. Покрытия металлические. Методы измерения пластичности
Страницы стандарта



































