ГОСТ 19494-74 Краны консольные стационарные поворотные ручные. Типы. Основные параметры и размеры
ГОСТ
Скачать ГОСТ в PDF или DOC бесплатно
Основная информация
Обозначение:
ГОСТ 19494-74
Статус:
Действует
Тип:
ГОСТ
Название русское:
Краны консольные стационарные поворотные ручные. Типы. Основные параметры и размеры
Название английское:
Cantilever slerung hand-operated stationary cranes. Types. Basic parameters and dimensions
Даты и сроки
Дата издания:
04-01-74
Дата введения в действие:
06-30-74
Дата завершения срока действия:
-
Применение и описание
Область и условия применения:
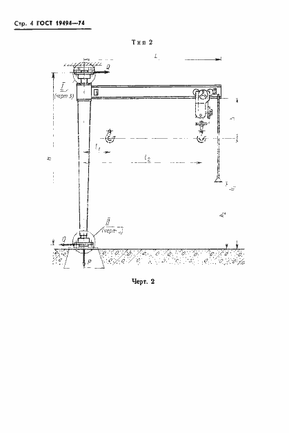
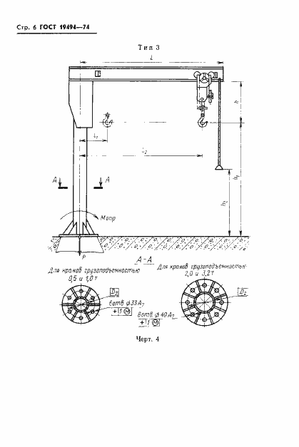
Настоящий стандарт распространяется на консольные стационарные поворотные ручные краны общего назначения грузоподъемностью от 0,5 до 3,2 т, климатического исполнения V категорий 2 и 3 по ГОСТ 15150. Стандарт не распространяется на консольные краны, предназначенные для работы во взрывоопасной среде, транспортирования расплавленного или раскаленного металла, огнеопасных веществ, ядов, а также на консольные краны специального назначения
Связи и замены
Заменяющий:
-
Описание стандарта
ГОСТ 19494-74 Краны консольные стационарные поворотные ручные. Типы. Основные параметры и размеры
Страницы стандарта














