ГОСТ 19811-90 Краны консольные электрические стационарные. Типы
ГОСТ
Скачать ГОСТ в PDF или DOC бесплатно
Основная информация
Обозначение:
ГОСТ 19811-90
Статус:
Действует
Тип:
ГОСТ
Название русское:
Краны консольные электрические стационарные. Типы
Название английское:
Stationary electric cantilever cranes. Types
Даты и сроки
Дата издания:
06-04-90
Дата введения в действие:
01-01-91
Дата завершения срока действия:
-
Применение и описание
Область и условия применения:
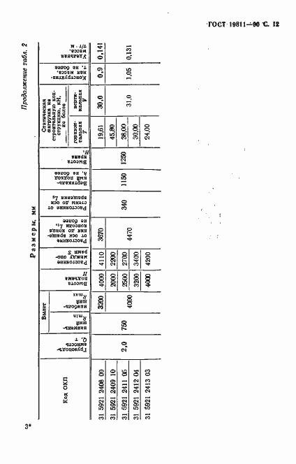
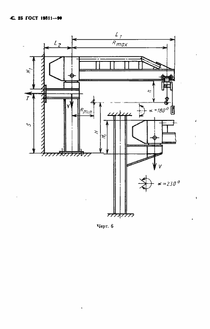
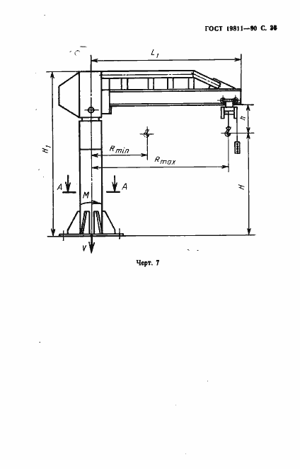
Настоящий стандарт распространяется на консольные электрические стационарные поворотные краны общего назначения. Стандарт не распространяется на краны, предназначенные для работы во взрывоопасной и пожароопасной средах, в помещениях с парами кислот и щелочей. Стандарт устанавливает типы, основные параметры и размеры кранов и присоединительные размеры их опорных частей
Связи и замены
Заменяющий:
-
Взамен:
ГОСТ 19811-82
Описание стандарта
ГОСТ 19811-90 Краны консольные электрические стационарные. Типы
Страницы стандарта



















































