ГОСТ 20889-88 Шкивы для приводных клиновых ремней нормальных сечений. Общие технические условия
ГОСТ
Скачать ГОСТ в PDF или DOC бесплатно
Основная информация
Обозначение:
ГОСТ 20889-88
Статус:
Действует
Тип:
ГОСТ
Название русское:
Шкивы для приводных клиновых ремней нормальных сечений. Общие технические условия
Название английское:
Pulleys for driving V-belts with normal sections. General specifications
Даты и сроки
Дата издания:
05-05-88
Дата введения в действие:
01-01-89
Дата завершения срока действия:
-
Применение и описание
Область и условия применения:
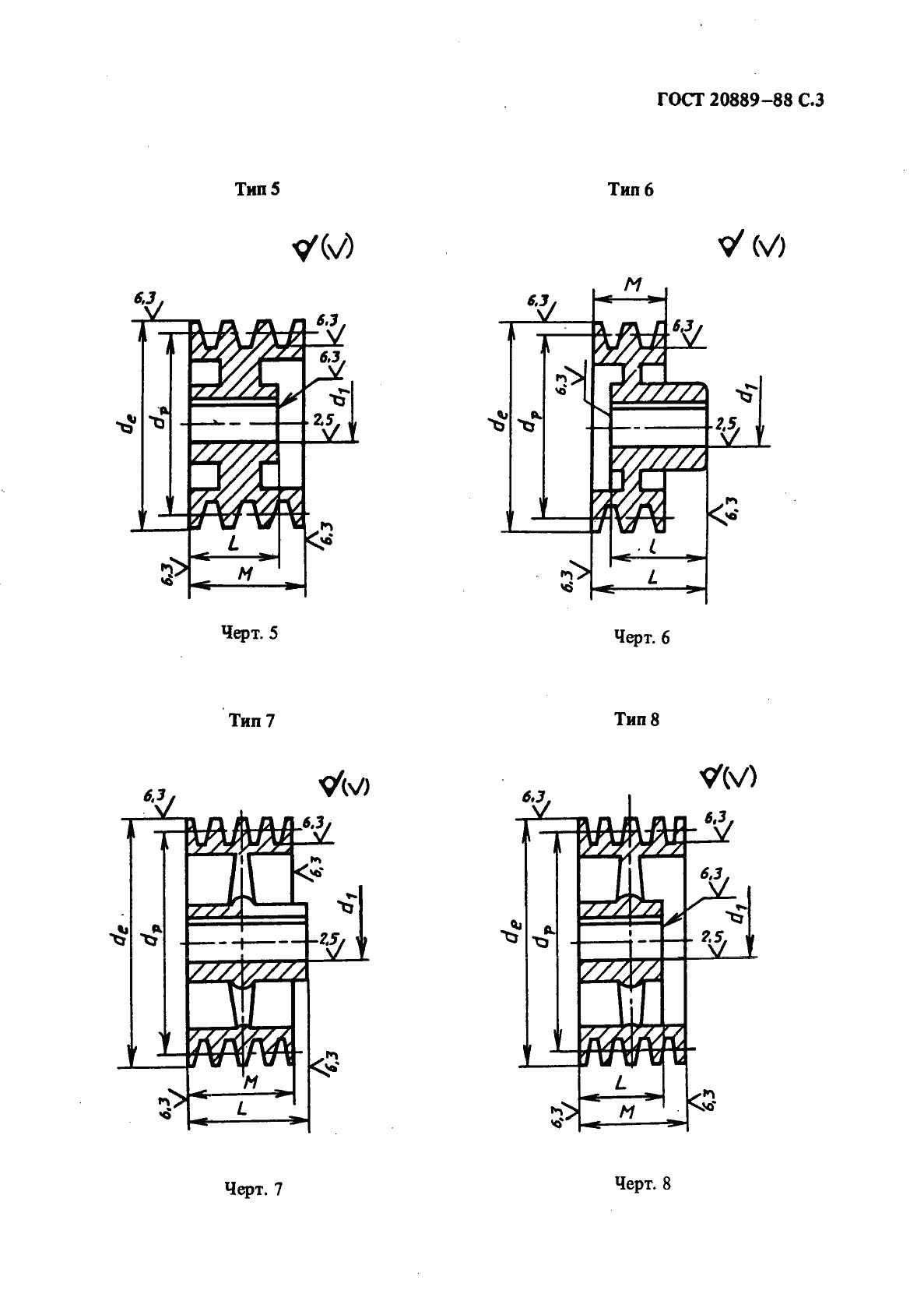
Настоящий стандарт распространяется на цельные одноступенчатые шкивы для приводных клиновых ремней по ГОСТ 1284.1-80
Связи и замены
Заменяющий:
-
Взамен:
ГОСТ 20889-80;ГОСТ 20890-80;ГОСТ 20891-80;ГОСТ 20892-80;ГОСТ 20893-80;ГОСТ 20894-80;ГОСТ 20895-80;ГОСТ 20896-80;ГОСТ 20897-80;ГОСТ 20898-80
Описание стандарта
ГОСТ 20889-88 Шкивы для приводных клиновых ремней нормальных сечений. Общие технические условия
Страницы стандарта
















