ГОСТ 24184-80 Фланцы металлические. Конструкция
ГОСТ
Скачать ГОСТ в PDF или DOC бесплатно
Основная информация
Обозначение:
ГОСТ 24184-80
Статус:
Действует
Тип:
ГОСТ
Название русское:
Фланцы металлические. Конструкция
Название английское:
Flanges on two tension hoops. Design
Даты и сроки
Дата издания:
05-01-88
Дата введения в действие:
06-30-81
Дата завершения срока действия:
-
Применение и описание
Область и условия применения:
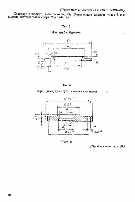
Настоящий стандарт распространяется на фланцы металлические, применяемые для соединения стеклянных труб
Связи и замены
Заменяющий:
-
Взамен:
ГОСТ 19694-74
Изменения и переиздания
Список изменений:
№1 от (рег. ) «Срок действия продлен» №2 от (рег. ) «Срок действия продлен» №3 от (рег. ) «Поправка»
Описание стандарта
ГОСТ 24184-80 Фланцы металлические. Конструкция
Страницы стандарта











