ГОСТ 30064-93 Концы шпинделей сверлильных, расточных и фрезерных станков. Размеры. Технические требования
ГОСТ
Скачать ГОСТ в PDF или DOC бесплатно
Основная информация
Обозначение:
ГОСТ 30064-93
Статус:
Действует
Тип:
ГОСТ
Название русское:
Концы шпинделей сверлильных, расточных и фрезерных станков. Размеры. Технические требования
Название английское:
Spindel noses of drilling, boring and milling machines. Dimensions. Technical requirements
Даты и сроки
Дата регистрации:
10-21-93
Дата издания:
11-17-94
Дата введения в действие:
01-01-95
Дата завершения срока действия:
-
Применение и описание
Область и условия применения:
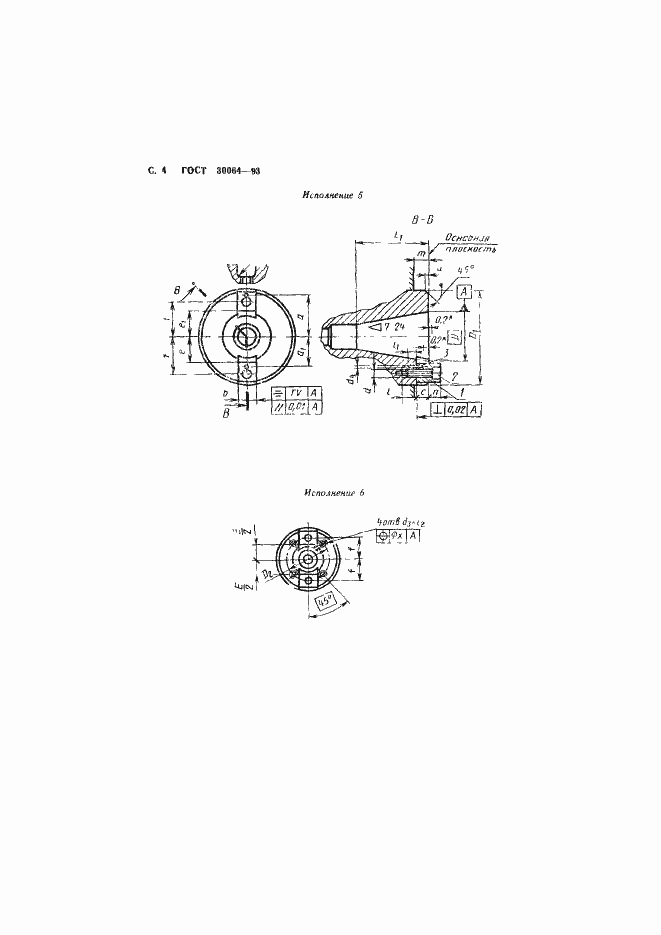
Настоящий стандарт распространяется на концы шпинделей всех типов универсальных сверлильных, расточных и фрезерных станков с коническими посадочными поверхностями
Связи и замены
Заменяющий:
-
Взамен в части:
ГОСТ 24644-81 в части концов шпинделей
Описание стандарта
ГОСТ 30064-93 Концы шпинделей сверлильных, расточных и фрезерных станков. Размеры. Технические требования
Страницы стандарта















