ГОСТ 21540-76 Зенкеры, оснащенные твердосплавными пластинами, для обработки деталей из нержавеющих и жаропрочных сталей и сплавов. Конструкция и размеры
ГОСТ
Скачать ГОСТ в PDF или DOC бесплатно
Основная информация
Обозначение:
ГОСТ 21540-76
Статус:
Действует
Тип:
ГОСТ
Название русское:
Зенкеры, оснащенные твердосплавными пластинами, для обработки деталей из нержавеющих и жаропрочных сталей и сплавов. Конструкция и размеры
Название английское:
Carbide tipped counterbores for machining stainless and high-temperature steels and alloys. Design and dimensions
Даты и сроки
Дата издания:
12-01-84
Дата введения в действие:
01-01-77
Дата завершения срока действия:
-
Применение и описание
Область и условия применения:
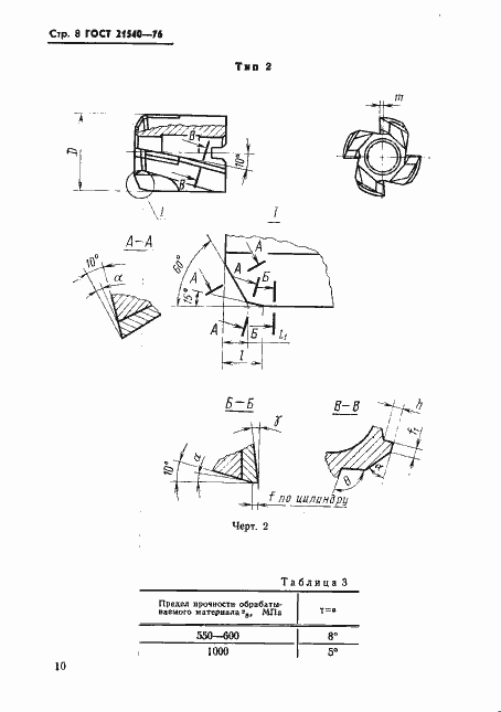
Настоящий стандарт распространяется на зенкеры цельные с коническим хвостовиком и насадные, оснащенные твердосплавными пластинами, предназначенные для предварительной и окончательной обработки сквозных отверстий с полем допуска по Н11 в деталях из нержавеющих и жаропрочных сталей и сплавов
Связи и замены
Заменяющий:
-
Изменения и переиздания
Список изменений:
№1 от (рег. ) «Срок действия продлен»
Описание стандарта
ГОСТ 21540-76 Зенкеры, оснащенные твердосплавными пластинами, для обработки деталей из нержавеющих и жаропрочных сталей и сплавов. Конструкция и размеры
Страницы стандарта












