ГОСТ 23211-78 Блоки универсальных штампов совмещенного действия для обрезки облоя и пробивки отверстия у круглых в плане штампованных поковок на кривошипных прессах. Конструкция и размеры
ГОСТ
Скачать ГОСТ в PDF или DOC бесплатно
Основная информация
Обозначение:
ГОСТ 23211-78
Статус:
Действует
Тип:
ГОСТ
Название русское:
Блоки универсальных штампов совмещенного действия для обрезки облоя и пробивки отверстия у круглых в плане штампованных поковок на кривошипных прессах. Конструкция и размеры
Название английское:
Units of versatile compound dies for clipping and piersing of round in plan vien die fordinds on crank presses. Design and dimensions
Даты и сроки
Дата издания:
10-03-78
Дата введения в действие:
06-30-79
Дата завершения срока действия:
-
Применение и описание
Область и условия применения:
Настоящий стандарт распространяется на блоки универсальных штампов для обрезки облоя и пробивки отверстия у круглых в плане штампованных поковок на однокривошипных закрытых прессах простого действия
Связи и замены
Заменяющий:
-
Изменения и переиздания
Список изменений:
№1 от (рег. ) «Срок действия продлен»
Описание стандарта
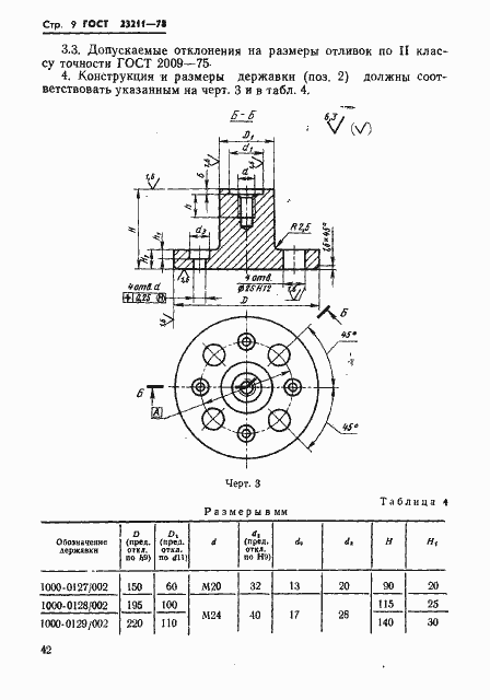
ГОСТ 23211-78 Блоки универсальных штампов совмещенного действия для обрезки облоя и пробивки отверстия у круглых в плане штампованных поковок на кривошипных прессах. Конструкция и размеры
Страницы стандарта


























