ГОСТ 1497-84 Металлы. Методы испытаний на растяжение
ГОСТ
Скачать ГОСТ в PDF или DOC бесплатно
Основная информация
Обозначение:
ГОСТ 1497-84
Статус:
Заменен
Тип:
ГОСТ
Название русское:
Металлы. Методы испытаний на растяжение
Название английское:
Metals. Methods of tension test
Даты и сроки
Дата издания:
01-01-08
Дата введения в действие:
01-01-86
Дата завершения срока действия:
07-01-24
Применение и описание
Область и условия применения:
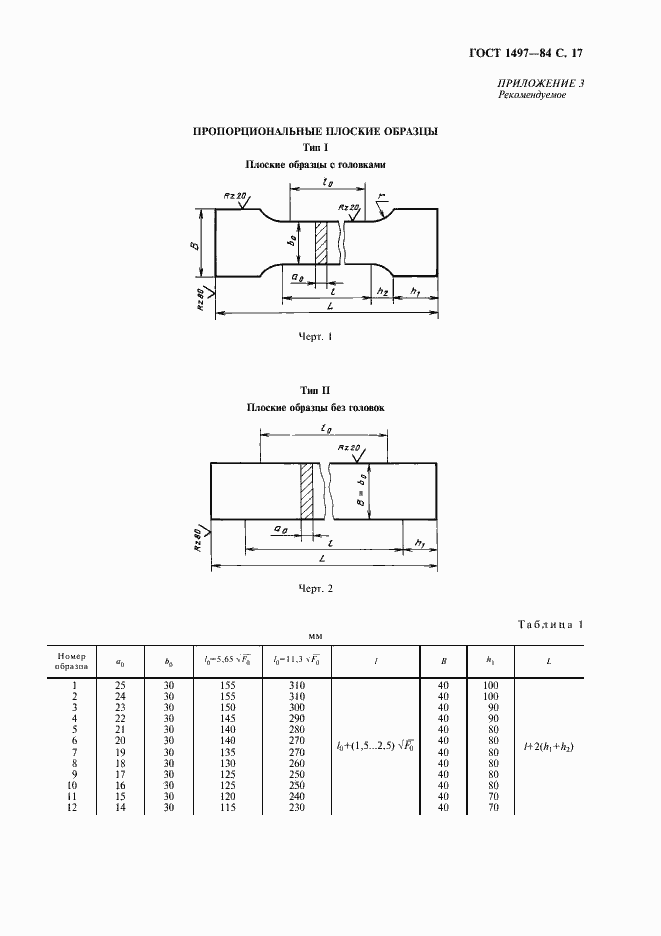
Настоящий стандарт устанавливает методы статических испытаний на растяжение черных и цветных металлов и изделий из них номинальным диаметром или наименьшим размером в поперечном сечении 3,0 мм и более для определения при температуре (20+15-10) град. С характеристик механических свойств: предела пропорциональности; модуля упругости; предела текучести физического; предела текучести условного; временного сопротивления; относительного равномерного удлинения; относительного удлинения после разрыва; относительного сужения поперечного сечения после разрыва. Стандарт не распространяется на испытания проволоки и труб
Связи и замены
Заменяющий:
ГОСТ 1497-2023
Взамен:
ГОСТ 1497-73
Изменения и переиздания
Список изменений:
№0 от (рег. ) «Дата введения перенесена» №0 от (рег. ) «Дата введения перенесена» №1 от (рег. ) «Срок действия продлен» №2 от (рег. ) «Срок действия продлен» №3 от (рег. ) «Срок действия продлен»
Описание стандарта
ГОСТ 1497-84 Металлы. Методы испытаний на растяжение
Страницы стандарта


























Приложение №4: Поправка к ГОСТ 1497-84 Обозначение: Поправка к ГОСТ 1497-84 Дата введения в действие: 25.04.2014

Приложение №5: Поправка к ГОСТ 1497-84 Обозначение: Поправка к ГОСТ 1497-84 Дата введения в действие: 05.08.2014
