ГОСТ 14635-93 Профили стальные гнутые специальные для вагоностроения. Сортамент
ГОСТ
Скачать ГОСТ в PDF или DOC бесплатно
Основная информация
Обозначение:
ГОСТ 14635-93
Статус:
Действует
Тип:
ГОСТ
Название русское:
Профили стальные гнутые специальные для вагоностроения. Сортамент
Название английское:
Steel cold-shaped special profiles for car building. Dimensions
Даты и сроки
Дата издания:
04-01-03
Дата введения в действие:
01-01-97
Дата завершения срока действия:
-
Применение и описание
Область и условия применения:
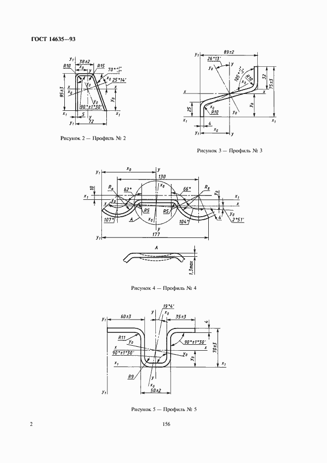
Настоящий стандарт распространяется на стальные гнутые специальные профили для вагоностроения, изготовляемые на профилегибочных агрегатах из холоднокатаного и горячекатаного листового проката из углеродистой стали обыкновенного качества, углеродистой качественной конструкционой и низколегированной
Связи и замены
Заменяющий:
-
Взамен:
ГОСТ 14635-79
Описание стандарта
ГОСТ 14635-93 Профили стальные гнутые специальные для вагоностроения. Сортамент
Страницы стандарта








