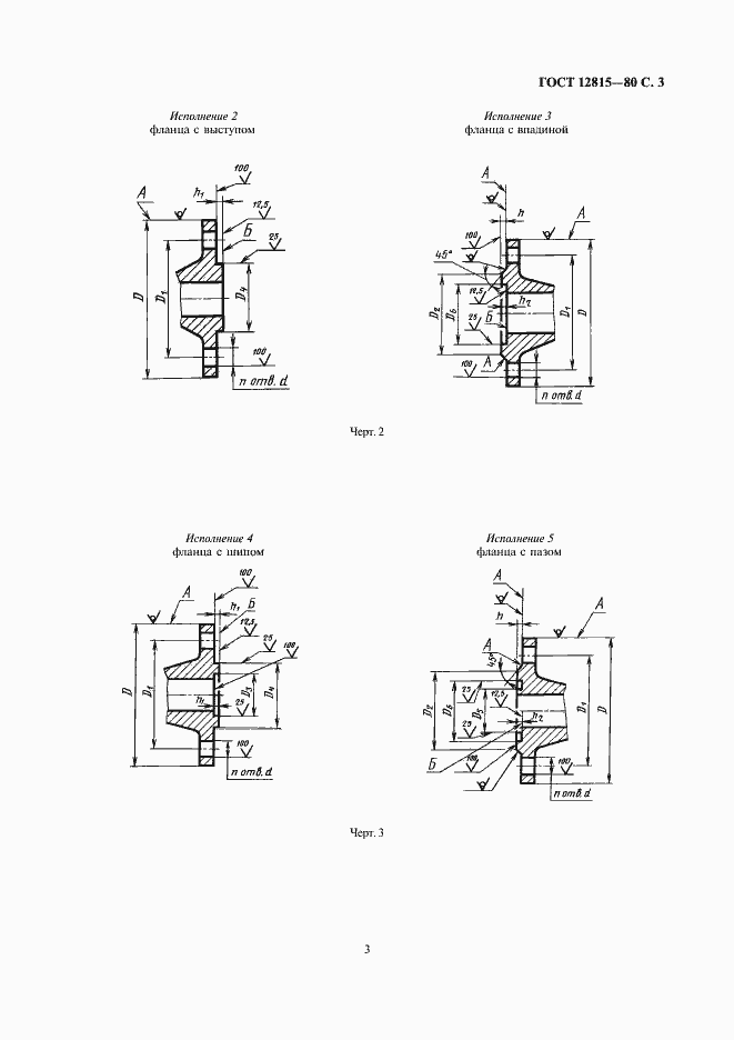
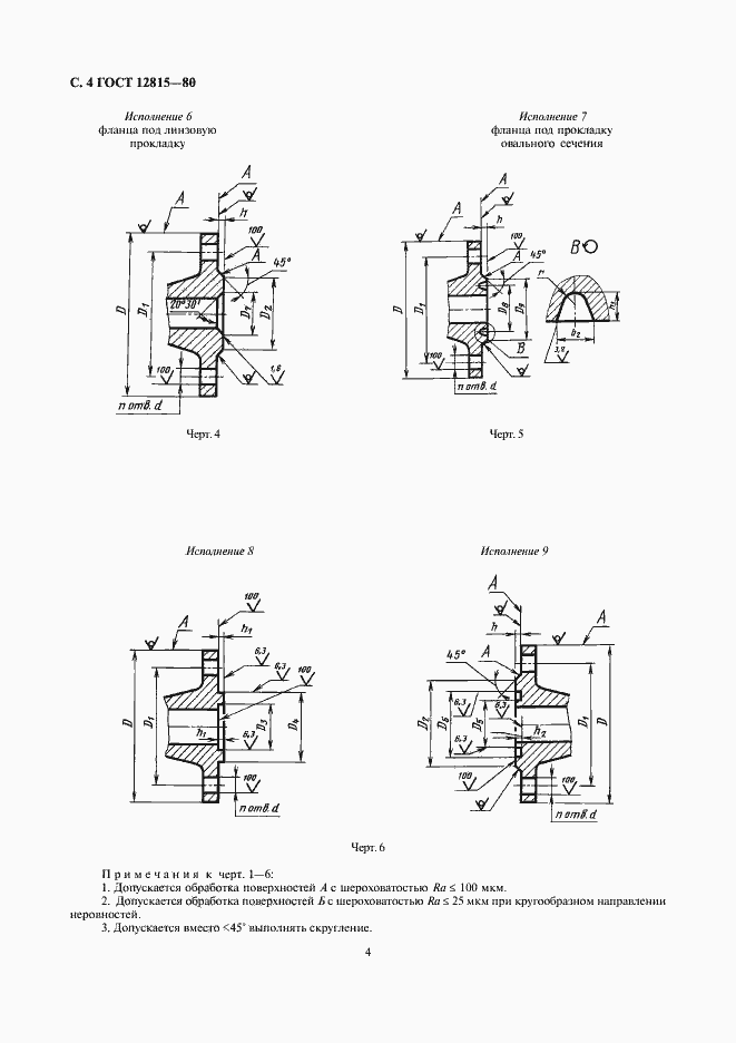
ГОСТ 12815-80 Фланцы арматуры, соединительных частей и трубопроводов на Ру от 0,1 до 20,0 МПа (от 1 до 200 кгс/см кв.). Типы. Присоединительные размеры и размеры уплотнительных поверхностей
ГОСТ
Скачать ГОСТ в PDF или DOC бесплатно
Основная информация
Обозначение:
ГОСТ 12815-80
Статус:
Заменен
Тип:
ГОСТ
Название русское:
Фланцы арматуры, соединительных частей и трубопроводов на Ру от 0,1 до 20,0 МПа (от 1 до 200 кгс/см кв.). Типы. Присоединительные размеры и размеры уплотнительных поверхностей
Название английское:
Flanges for valves, fittings and pipelines for Pnom from 0,1 to 20 MPa (from 1 to 200kgf/sq sm). Types. Connecting dimensions and dimensions of sealing surfaces
Даты и сроки
Дата издания:
07-01-03
Дата введения в действие:
01-01-83
Дата завершения срока действия:
04-01-17
Применение и описание
Область и условия применения:
Настоящий стандарт распространяется на фланцы трубопроводов и соединительных частей, а также на присоединительные фланцы арматуры, машин, приборов, патрубков аппаратов и резервуаров на условное давление Py от 0,1 до 20,0 МПа (от 1 до 200 кгс/см кв.) и температуру среды от 20 до 873 К (от минус 253 до 600 град. С) и на фланцы с прокладками из фторопласта-4 на условное давление Py от 0,1 до 20,0 МПа (от 1 до 200 кгс/см кв.) и температуру среды от 73 до 473 К (от минус 200 до плюс 200 град. С) и может быть использован для их сертификации. Стандарт не распространяется на фланцы трубопроводов транспортных машин, если эти фланцы не предназначены для присоединения арматуры или приборов общего назначения, а также фланцы, стандартизованные ГОСТ 1536-76 и ГОСТ 4433-76
Приложение №8:
Поправка к ГОСТ 12815-80 Обозначение: Поправка к ГОСТ 12815-80 Дата введения в действие: 21.01.2010
Связи и замены
Заменяющий:
ГОСТ 33259-2015
Взамен:
ГОСТ 1233-67;ГОСТ 1234-67
Изменения и переиздания
Список изменений:
№0 от (рег. ) «Поправка к изменению» №0 от (рег. ) «Восстановлен на территории РФ» №0 от (рег. ) «Дата введения перенесена» №0 от (рег. ) «Дата введения перенесена» №0 от (рег. ) «Дата введения перенесена» №1 от (рег. ) «Срок действия продлен» №2 от (рег. ) «Срок действия продлен» №3 от (рег. ) «Срок действия продлен» №4 от (рег. ) «Срок действия продлен» №5 от (рег. ) «Срок действия продлен»
Описание стандарта
ГОСТ 12815-80 Фланцы арматуры, соединительных частей и трубопроводов на Ру от 0,1 до 20,0 МПа (от 1 до 200 кгс/см кв.). Типы. Присоединительные размеры и размеры уплотнительных поверхностей
Страницы стандарта





















Приложение №8: Поправка к ГОСТ 12815-80 Обозначение: Поправка к ГОСТ 12815-80 Дата введения в действие: 21.01.2010

Приложение №9: Поправка к ГОСТ 12815-80 Обозначение: Поправка к ГОСТ 12815-80 Дата введения в действие: 01.11.2005

Приложение №10: Поправка к ГОСТ 12815-80 Обозначение: Поправка к ГОСТ 12815-80 Дата введения в действие: 14.04.2011
