ГОСТ 10006-80 Трубы металлические. Метод испытания на растяжение
ГОСТ
Скачать ГОСТ в PDF или DOC бесплатно
Основная информация
Обозначение:
ГОСТ 10006-80
Статус:
Действует
Тип:
ГОСТ
Название русское:
Трубы металлические. Метод испытания на растяжение
Название английское:
Metal tubes. Tensile test method
Даты и сроки
Дата издания:
10-26-10
Дата введения в действие:
06-30-80
Дата завершения срока действия:
-
Применение и описание
Область и условия применения:
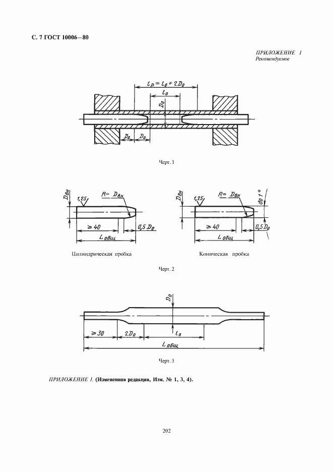
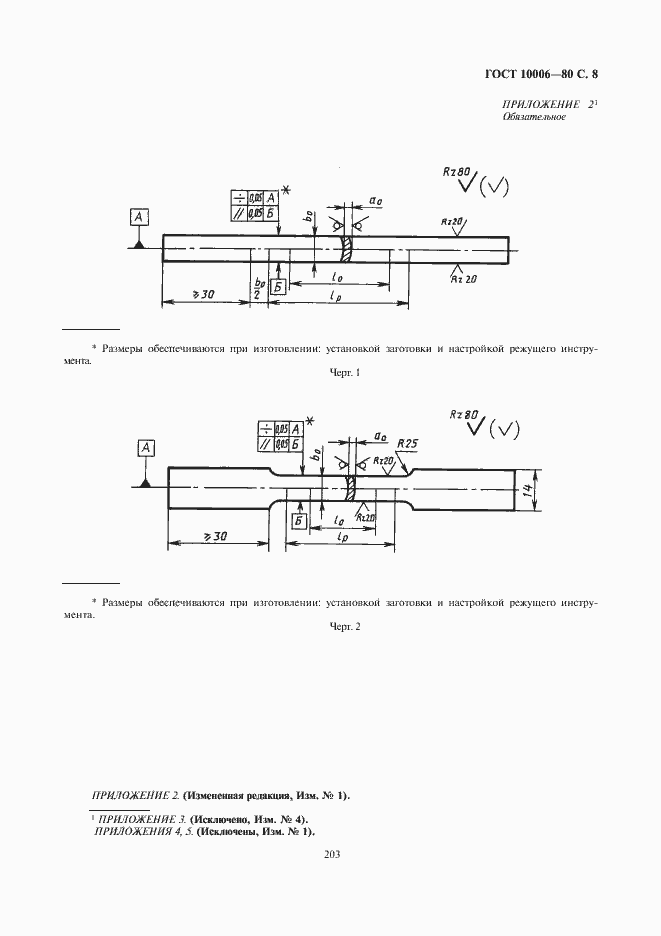
Настоящий стандарт устанавливает метод статических испытаний на растяжение металлических бесшовных, сварных, биметаллических труб для определения при температуре 20 (плюс 15 минус 10) град. С следующих характеристик: предела текучести (физического); предела текучести (условного); временного сопротивления; относительного удлинения после разрыва; относительного сужения после разрыва. Стандарт не распространяется на испытание сварных соединений и металла сварных швов
Связи и замены
Заменяющий:
-
Взамен:
ГОСТ 10006-73
Изменения и переиздания
Список изменений:
№1 от (рег. ) «Срок действия продлен» №2 от (рег. ) «Срок действия продлен» №3 от (рег. ) «Поправка» №4 от (рег. ) «Срок действия продлен»
Описание стандарта
ГОСТ 10006-80 Трубы металлические. Метод испытания на растяжение
Страницы стандарта











