ГОСТ 23338-91 Сварка металлов. Методы определения содержания диффузионного водорода в наплавленном металле и металле шва
ГОСТ
Скачать ГОСТ в PDF или DOC бесплатно
Основная информация
Обозначение:
ГОСТ 23338-91
Статус:
Действует
Тип:
ГОСТ
Название русское:
Сварка металлов. Методы определения содержания диффузионного водорода в наплавленном металле и металле шва
Название английское:
Welding of metals. Methods for determination of diffusible hydrogen in deposited weld metal and fused metal
Даты и сроки
Дата издания:
09-11-91
Дата введения в действие:
06-30-92
Дата завершения срока действия:
-
Применение и описание
Область и условия применения:
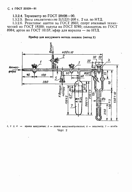
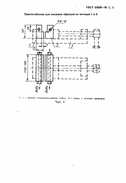
Настоящий стандарт устанавливает хроматографический и вакуумный методы определения содержания диффузного водорода в наплавленном металле и металле шва и распространяется на покрытые электроды, порошковую проволоку, стальную сварочную проволоку, предназначенные для сварки низкоуглеродистых и низколегированных сталей
Связи и замены
Заменяющий:
-
Взамен:
ГОСТ 23338-78
Описание стандарта
ГОСТ 23338-91 Сварка металлов. Методы определения содержания диффузионного водорода в наплавленном металле и металле шва
Страницы стандарта




















