ГОСТ 370-93 Станки вертикально-сверлильные. Основные размеры. Нормы точности и жесткости
ГОСТ
Скачать ГОСТ в PDF или DOC бесплатно
Основная информация
Обозначение:
ГОСТ 370-93
Статус:
Действует
Тип:
ГОСТ
Название русское:
Станки вертикально-сверлильные. Основные размеры. Нормы точности и жесткости
Название английское:
Vertical drilling machines. Basic dimensions. Standards of accuracy and rigidity
Даты и сроки
Дата регистрации:
10-21-93
Дата издания:
08-01-05
Дата введения в действие:
01-01-95
Дата завершения срока действия:
-
Применение и описание
Область и условия применения:
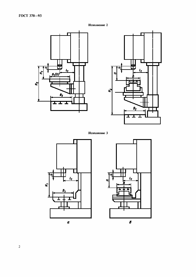
Настоящий стандарт распространяется на универсальные одношпиндельные и многошпиндельные (рядные) вертикально-сверлильные станки классов точности Н и П, в том числе на станки с программным управлением, изготовляемые для нужд народного хозяйства и экспорта
Связи и замены
Заменяющий:
-
Взамен:
ГОСТ 370-81;ГОСТ 1227-79
Описание стандарта
ГОСТ 370-93 Станки вертикально-сверлильные. Основные размеры. Нормы точности и жесткости
Страницы стандарта


















