ГОСТ 19521-74 Сварка металлов. Классификация
ГОСТ
Скачать ГОСТ в PDF или DOC бесплатно
Основная информация
Обозначение:
ГОСТ 19521-74
Статус:
Действует
Тип:
ГОСТ
Название русское:
Сварка металлов. Классификация
Название английское:
Welding of metals. Classification
Даты и сроки
Дата издания:
05-01-78
Дата введения в действие:
01-01-75
Дата завершения срока действия:
-
Применение и описание
Область и условия применения:
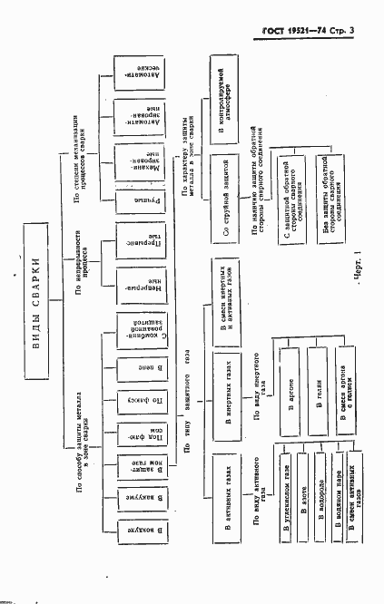
Настоящий стандарт устанавливает классификацию сварки металлов по основным физическим, техническим и технологическим призракам
Связи и замены
Заменяющий:
-
Описание стандарта
ГОСТ 19521-74 Сварка металлов. Классификация
Страницы стандарта













