ГОСТ 18210-72 Пилы дисковые сегментные для легких сплавов. Технические условия
ГОСТ
Скачать ГОСТ в PDF или DOC бесплатно
Основная информация
Обозначение:
ГОСТ 18210-72
Статус:
Действует
Тип:
ГОСТ
Название русское:
Пилы дисковые сегментные для легких сплавов. Технические условия
Название английское:
Disk segment saws for light alloys. Specifications
Даты и сроки
Дата издания:
01-15-73
Дата введения в действие:
01-01-74
Дата завершения срока действия:
-
Применение и описание
Область и условия применения:
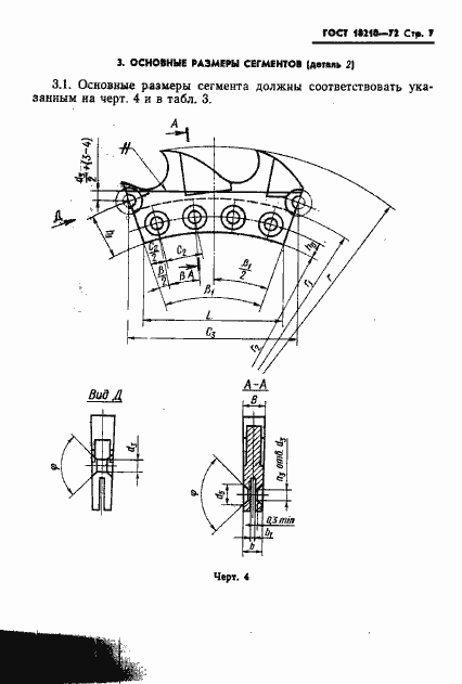
Настоящий стандарт распространяется на пилы круглые сегментные диаметром от 710 до 3000 мм, предназначенные для разрезки заготовок из легких сплавов
Связи и замены
Заменяющий:
-
Изменения и переиздания
Список изменений:
№1 от (рег. ) «Срок действия продлен» №2 от (рег. ) «Срок действия продлен» №3 от (рег. ) «Поправка»
Описание стандарта
ГОСТ 18210-72 Пилы дисковые сегментные для легких сплавов. Технические условия
Страницы стандарта






























