ГОСТ 17040-80 Элементы штампуемых деталей. Конструкция и размеры
ГОСТ
Скачать ГОСТ в PDF или DOC бесплатно
Основная информация
Обозначение:
ГОСТ 17040-80
Статус:
Действует
Тип:
ГОСТ
Название русское:
Элементы штампуемых деталей. Конструкция и размеры
Название английское:
Stamping part elements. Construction and dimensions
Даты и сроки
Дата издания:
07-01-90
Дата введения в действие:
06-30-81
Дата завершения срока действия:
-
Применение и описание
Область и условия применения:
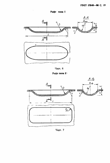
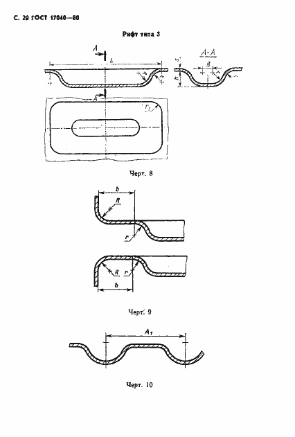
Настоящий стандарт распространяется на типовые элементы (сгиб, отбортовка, выдавка, борт) для придания жесткости штампуемым деталям из листа цветных сплавов толщиной s не более 4 мм с допускаемым утонением материала при штамповке не более 20 %
Связи и замены
Заменяющий:
-
Взамен:
ГОСТ 17040-71
Изменения и переиздания
Список изменений:
№1 от (рег. ) «Срок действия продлен» №2 от (рег. ) «Срок действия продлен»
Описание стандарта
ГОСТ 17040-80 Элементы штампуемых деталей. Конструкция и размеры
Страницы стандарта

































