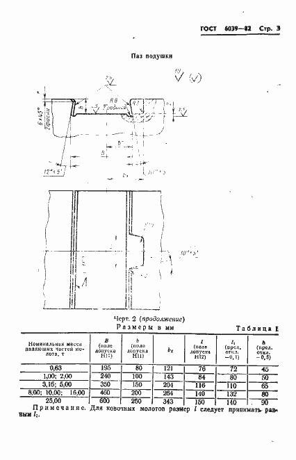
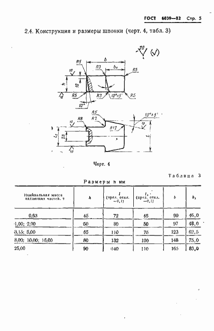
ГОСТ 6039-82 Молоты ковочные и штамповочные. Размеры элементов крепления штампов и бойков в бабе и подушке
ГОСТ
Скачать ГОСТ в PDF или DOC бесплатно
Основная информация
Обозначение:
ГОСТ 6039-82
Статус:
Действует
Тип:
ГОСТ
Название русское:
Молоты ковочные и штамповочные. Размеры элементов крепления штампов и бойков в бабе и подушке
Название английское:
Forging and stamping hammers. Dimensions for fixing elements of hammer dies and block in tup and cushion
Даты и сроки
Дата издания:
11-03-82
Дата введения в действие:
06-30-83
Дата завершения срока действия:
-
Применение и описание
Область и условия применения:
Настоящий стандарт распространяется на ковочные и штамповочные молоты для производства поковок и выполнения различных операций свободной ковкой, изготовляемые для нужд народного хозяйства и на экспорт
Связи и замены
Заменяющий:
-
Взамен:
ГОСТ 6039-71
Описание стандарта
ГОСТ 6039-82 Молоты ковочные и штамповочные. Размеры элементов крепления штампов и бойков в бабе и подушке
Страницы стандарта















