ГОСТ 30456-97 Металлопродукция. Прокат листовой и трубы стальные. Методы испытания на ударный изгиб
ГОСТ
Скачать ГОСТ в PDF или DOC бесплатно
Основная информация
Обозначение:
ГОСТ 30456-97
Статус:
Заменен
Тип:
ГОСТ
Название русское:
Металлопродукция. Прокат листовой и трубы стальные. Методы испытания на ударный изгиб
Название английское:
Metal production. Rolled steel and tubes. Methods of blow bending tests
Даты и сроки
Дата регистрации:
04-23-97
Дата издания:
10-01-02
Дата введения в действие:
01-01-00
Дата завершения срока действия:
04-01-22
Применение и описание
Область и условия применения:
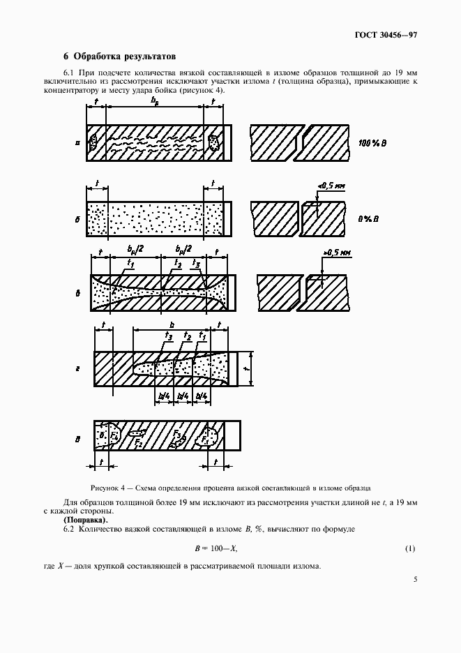
Настоящий стандарт устанавливает методы испытания образцов из основного металла стальных труб диаметром 508 мм и более, толщиной стенки более 7,5 мм и листового проката такой же толщины для их производства
Связи и замены
Заменяющий:
ГОСТ 30456-2021
Изменения и переиздания
Список изменений:
№0 от (рег. ) «Дата введения перенесена»
Описание стандарта
ГОСТ 30456-97 Металлопродукция. Прокат листовой и трубы стальные. Методы испытания на ударный изгиб
Страницы стандарта










